EasyManua.ls Logo

Fujitsu DL7600Pro - Using the Control Panel (LCD Type Only)

Fujitsu DL7600Pro
314 pages
Print Icon
To Next Page IconTo Next Page
To Next Page IconTo Next Page
To Previous Page IconTo Previous Page
To Previous Page IconTo Previous Page
Loading...
PRINTING
4-10 User's Manual
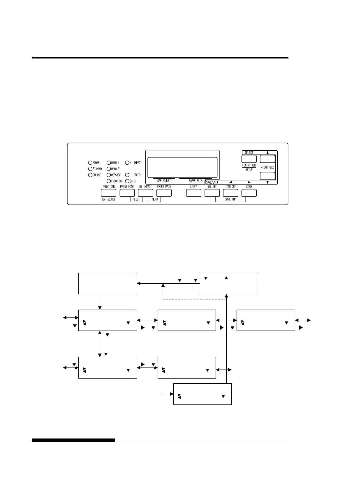
Using the Control Panel (LCD type only)
LCD type Control panel also can select print features including
FONT/PITCH/QUALITY that assigned current MENU1 or 2 directly.
To select print features enter select mode as follows.
1. Press the ONLINE button to place the printer online.
2. Press the FONT/PITCH button to enter select menu.
3. To move layer and in transverse direction, use ,, and
buttons.
4. To select print features, use , and SELECT buttons.
5. To save or exit press SAVE/EXIT buttons.
6. Press or buttons to finish.
FONT/PITCH/QUAL setting mode.
ONLINE
AUTO TRACTOR F
FONT/PITCH/QUAL
FONT
FONT/PITCH/QUAL
PITCH
FONT/PITCH/QUAL
QUALITY
FONT
*COUR 10
FONT
PRSTG12
FONT
*PRSTG12
FONT/PITCH button
SELECT
SW
:SAVE :CANCEL
SAVE/EXIT button
or
is applied to a selected option.

Table of Contents

Related product manuals