EasyManua.ls Logo

gefran installationSIEIDrive ADL300 - Page 128

gefran installationSIEIDrive ADL300
142 pages
Print Icon
To Next Page IconTo Next Page
To Next Page IconTo Next Page
To Previous Page IconTo Previous Page
To Previous Page IconTo Previous Page
Loading...
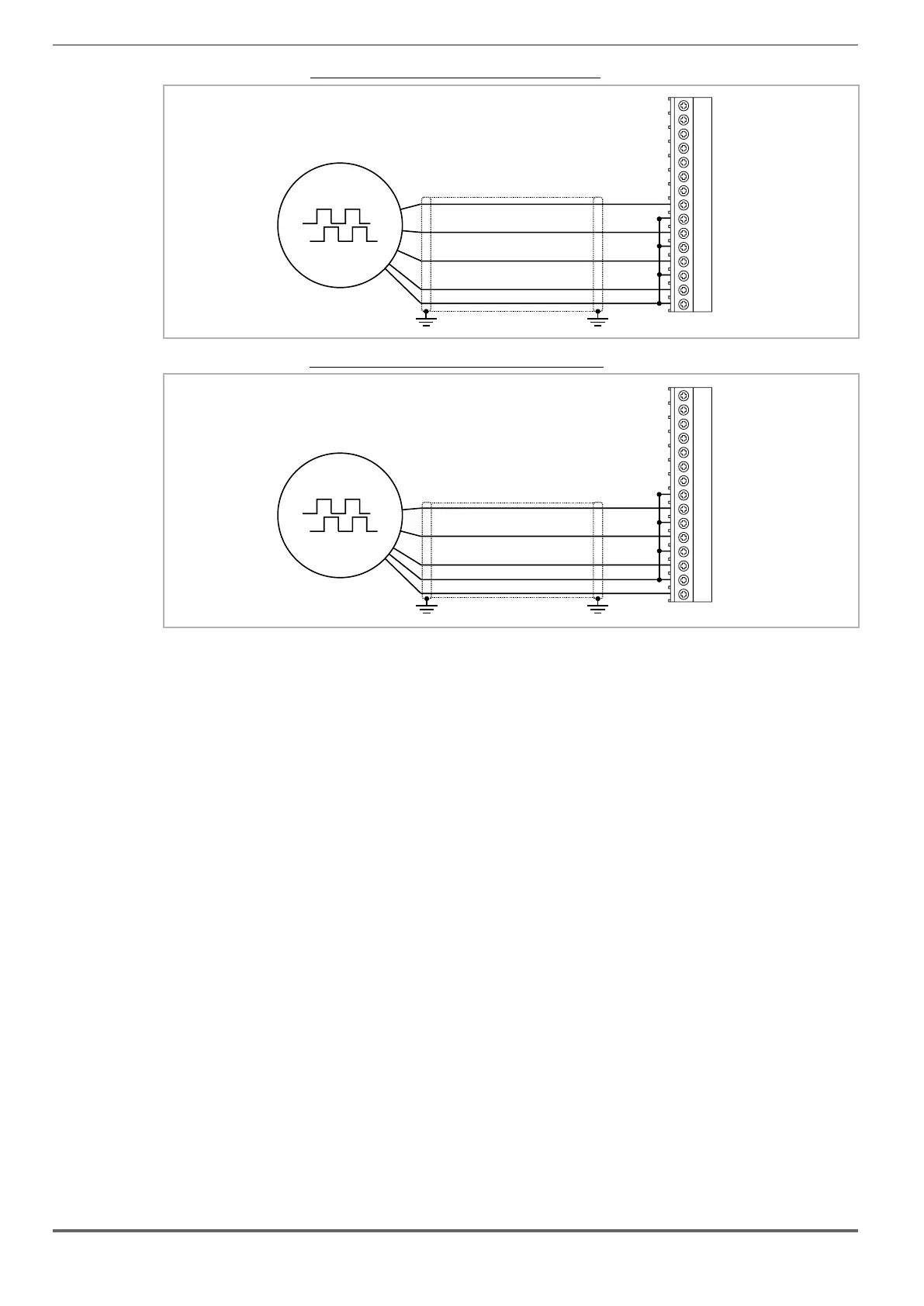
128 ADL300 • Quick installation guide - Specifications and connection
INCREMENTAL DIGITAL ENCODER (DE) SINGLE ENDED NPN O.C.
Z-
Z+
B-
B+
A-
A+
0VE out
+VE out
8
9
10
11
12
13
14
15
1
2
3
4
5
6
7
(*)
XE
INCREMENTAL DIGITAL ENCODER (DE) SINGLE ENDED PNP O.C.
Z-
Z+
B-
B+
A-
A+
0VE out
+VE out
8
9
10
11
12
13
14
15
1
2
3
4
5
6
7
(*)
XE
(*) Connection of shielding, see gure 7.2.4

Table of Contents

Related product manuals