EasyManua.ls Logo

GST GST5000 - Connection of Class a Loop; Connection of Communication Loop

GST GST5000
70 pages
Print Icon
To Next Page IconTo Next Page
To Next Page IconTo Next Page
To Previous Page IconTo Previous Page
To Previous Page IconTo Previous Page
Loading...
GST5000 Intelligent Fire Alarm Control Panel
Installation and Operation Manual (Generic Part)
The Intelligent Solution
Page 22
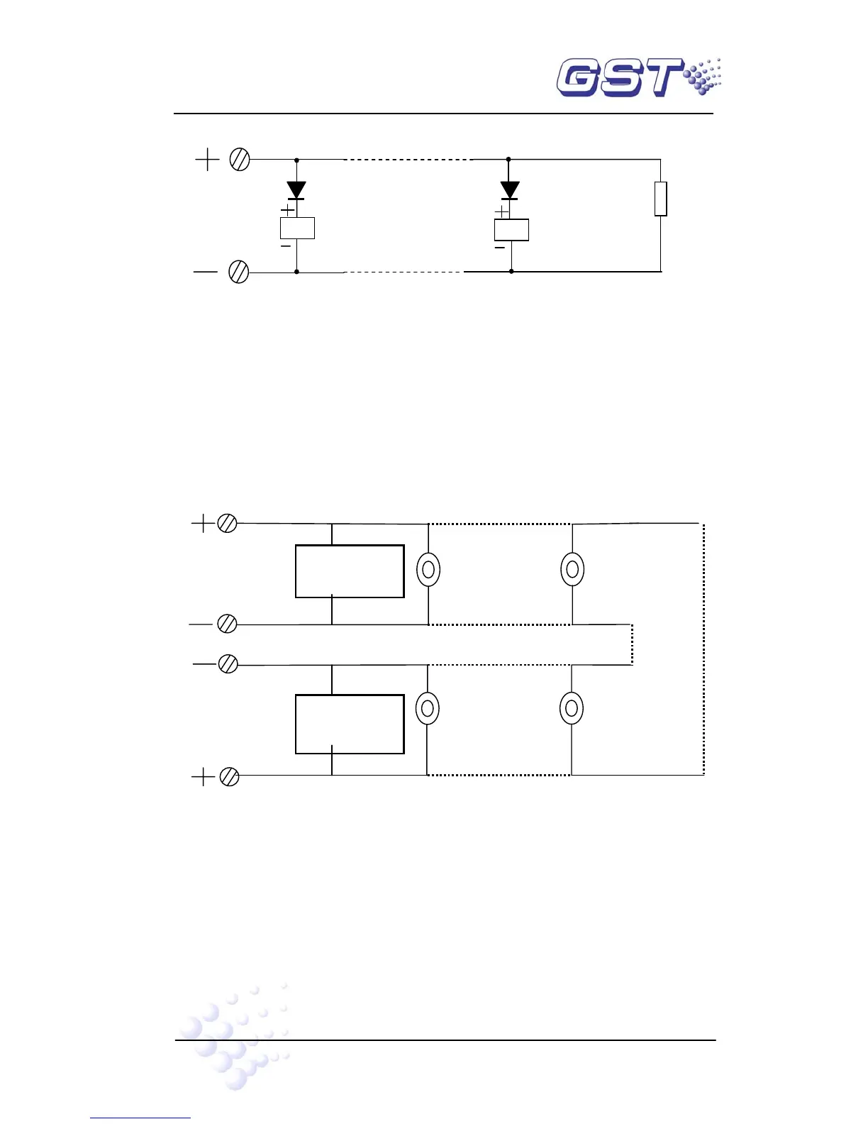
Fig. 4-6
A 4.7k resistor is connected at the FIRE ALARM OUTPUT as factory default. Please
remove it and keep it well before connection. After connecting the loop in correct polarity,
add the resistor to the end of the line.
NOTE: Fire supervisory devices are polarized. Note polarity in connection. The
maximum current of the circuit depends on the number of fire supervisory
devices. Do not overload.
4.4.4 Connection of Class A Loop
A Class A loop is shown in Fig. 4-7.
Fig. 4-7
Note: Every loop isolator can control maximum 32 detectors.
4.4.5 Connection of Communication Loop
LOOP OUT
(XT4)
LOOP IN
(
XT2
)
Addressable
field devices
Addressable
field devices
Loop Isolator
Loop Isolator
Diode
Fire Supervisory
Device
End-of-line
Resistor 4.7kΩ
Diode
FIRE ALARM
OUTPUT (XT5)
Fire Supervisory
Device

Table of Contents

Related product manuals