EasyManua.ls Logo

IBM System x3550 M3 Type 4254 - Installing the PCI Riser-Card Bracket to the Riser Card

IBM System x3550 M3 Type 4254
318 pages
Print Icon
To Next Page IconTo Next Page
To Next Page IconTo Next Page
To Previous Page IconTo Previous Page
To Previous Page IconTo Previous Page
Loading...
6. If you are instructed to return the PCI bracket, follow all packaging instructions,
and use any packaging materials for shipping that are supplied to you.
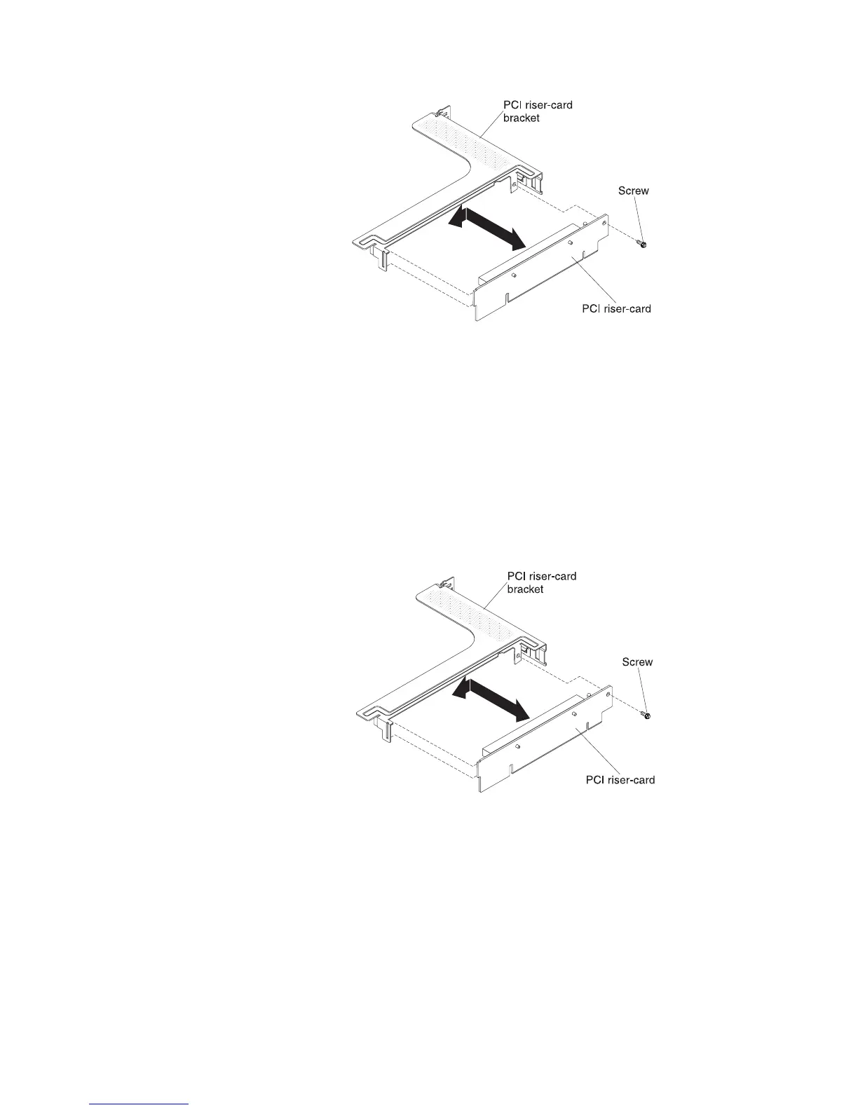
Installing the PCI riser-card bracket to the riser card
To install the PCI riser-card bracket to the riser card, complete the following steps:
1. Read the safety information that begins on page vii and the “Installation
guidelines” on page 167.
2. Turn off the server and peripheral devices and disconnect the power cords and
all external cables.
3. Remove the cover (see “Removing the cover” on page 174).
4. Align the holes on the PCI riser card and the PCI bracket and install the screw
that attaches the PCI riser card to the PCI bracket.
5. If you need to install an adapter, see “Installing an adapter” on page 180.
6. Install the PCI riser card assembly (see “Installing a PCI riser-card assembly”
on page 235).
7. Reconnect the cables for the adapter.
8. Install the cover (see “Installing the cover” on page 174).
9. Slide the server into the rack.
10. Reconnect the power cords and any cables that you removed.
11. Turn on the peripheral devices and the server.
236 IBM System x3550 M3 Types 4254 and 7944: Problem Determination and Service Guide

Table of Contents

Other manuals for IBM System x3550 M3 Type 4254

Related product manuals