EasyManua.ls Logo

KONICS krn100 - Channel Switch

KONICS krn100
155 pages
Print Icon
To Next Page IconTo Next Page
To Next Page IconTo Next Page
To Previous Page IconTo Previous Page
To Previous Page IconTo Previous Page
Loading...
7 Operation
48 © Copyright Reserved KONICS Co., Ltd.
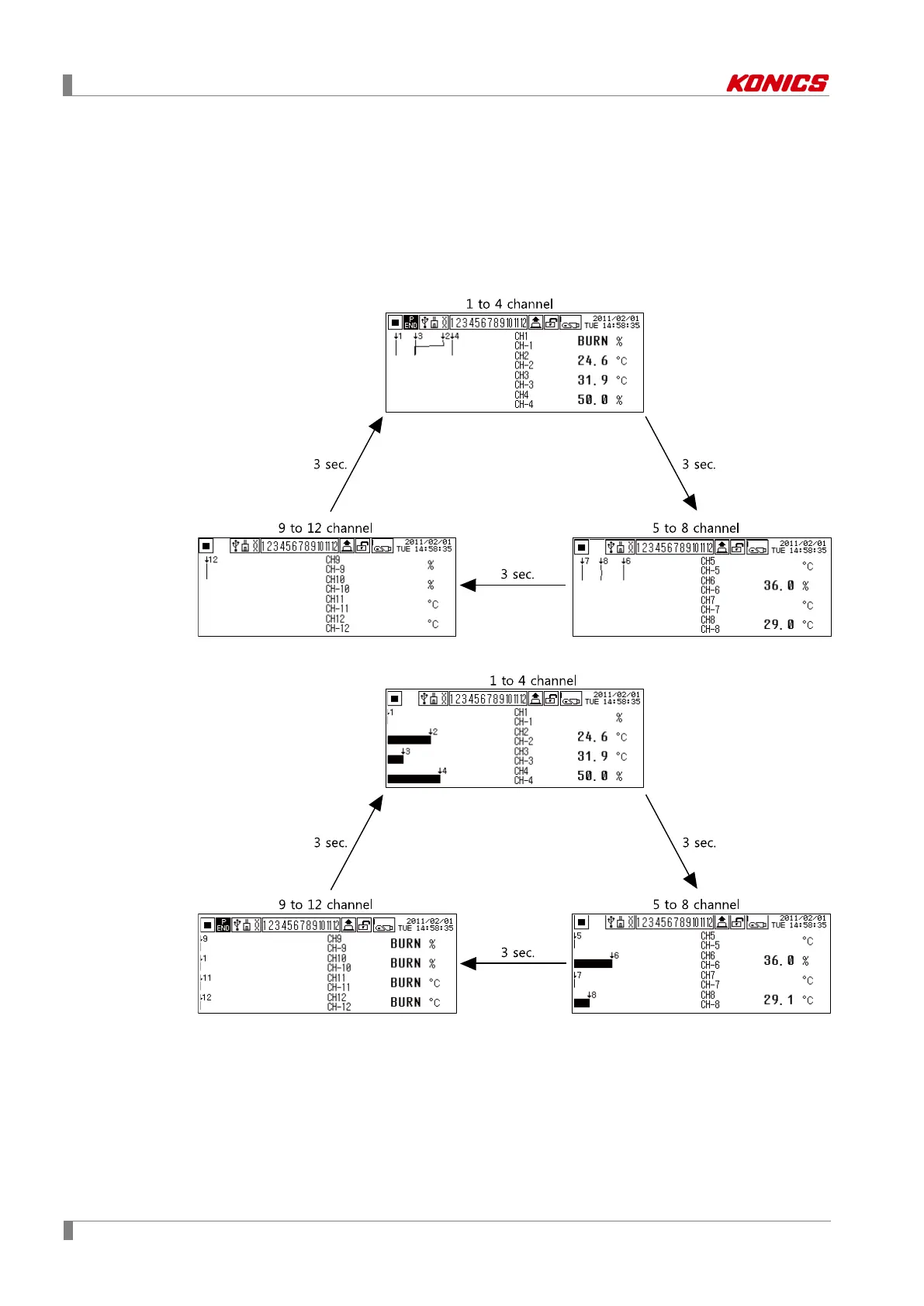
7.1.2 Channel switch
It displays measuring value of all input channels by switching channel of display types. You can
set channel switch mode as auto channel switch or manual channel switch.
7.1.2.1 Auto channel switch
A screen displays 4 channels and automatically switches other screens by 3 sec period.
(1) Trend graph
(2) Bar graph

Table of Contents