EasyManua.ls Logo

Mariner 70 - Warning Horn System Wiring Diagram

Mariner 70
391 pages
Print Icon
To Next Page IconTo Next Page
To Next Page IconTo Next Page
To Previous Page IconTo Previous Page
To Previous Page IconTo Previous Page
Loading...
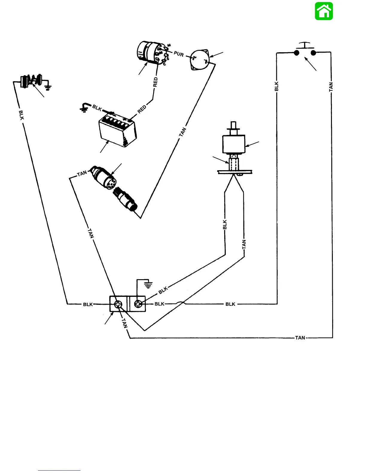
90-13645--2 4953B-6 OIL INJECTION SYSTEM
WARNING HORN SYSTEM WIRING DIAGRAM
f
i
h
g
c
d
b
a
e
a - Ignition Switch
b - Powerhead Temperature Sensor
c - Battery
d - Wiring Harness Connectors
e - Terminal Block
f - Warning Horn
g - Low Oil Sensor
h - Magnetic Float
i - Warning Horn Test Button (Some
Models)

Table of Contents