EasyManua.ls Logo

MD Helicopters 369D - Page 360

MD Helicopters 369D
722 pages
Print Icon
To Next Page IconTo Next Page
To Next Page IconTo Next Page
To Previous Page IconTo Previous Page
To Previous Page IconTo Previous Page
Loading...
CSP-HMI-3 MD Helicopters, Inc.
MAINTENANCE MANUAL
[ Main Menu ]
[ HMI3 Book TOC ]
[ Chapter 96 TOC ]
Page 214
Revision 11
96-02-00
The information disclosed herein is proprietary to MD Helicopters, Inc.
Neither this document nor any part hereof may be reproduced or transferred to
other documents or used or disclosed to others for manufacturing or any other
purpose except as specifically authorized in writing by MD Helicopters, Inc.
Copyright © 19992016 by MD Helicopters, Inc.
A
TB503-13
(P9-k) P512B16
P506AF16 (CB117-2)
TB503 (CONT)
E31
(S2-2) P521A20N
P514A20N (XDS21-S2-C)
E33
(DS7 SP23-A) E506A22N
E510D20N (P19-E)
F
L
A
GM
B
HN
C
J
P
D
K
R
E
F
L
A
GM
B
HN
C
J
P
D
K
R
E
GND
TST
TB505-1/2
TB505-3/4
(TB503-12K) M531C20
P514G20 (TB503-4L)
(TB503-10C) M531B20
E511F20 (TB503-11J)
28V
TST
TB505
TB503-11
(CB121-2) M506A20
P508C20 (P9-M)
TB503-12
(SP1222) L533T20
P17A20 (P9-H)
A
TB503-9
J501A20 (CB106-2)
(CB118-2 Q501AA20
TB503-10
(XDS21-S1-NO) E509A20
(CB144-2) Q515A20
(TB10-B) J508BB20
(S11-2) J508B20
E509AA20 (P12-A)
G96002113A
(P9-b) Q501A20
(P12-N) Q501C20
L533C20 (TB503-2E)
E567A20 (P19-B)
(DS145)
J501B20 (XDS9-S2-C)
(DS148)
J502A20 (K104-5)
L528B20 (SP14-A)
D
G
K
B
E
H
L
C
F
J
M
(P110-V) M506B20
(XDS9-NC) J503D20
(K304-5) J512J20
P513A20 (S4A-6)
P508J20 (S4A-5)
P513D20 (K103-6)
E511F20 (TB505-3/4A)
M511G20 (XDS8-C)
A
D
G
K
B
E
H
L
C
F
J
M
A
D
G
K
B
E
H
L
C
F
J
M
A
D
G
K
B
E
H
L
C
F
J
M
M531B20 (TB505-3/4F)
Q515B20 (P9-W)
J508C20 (P9-r)
JUMPER (TB503-7L)
E520B20 (S4A-3)
(CB143-2) G516A20
(TB505-1/2F) M531C20
P17H20 (K103-2)
L533Q20 BLK (SW PNL +)
L533R20 BLK (CB PNL +)
Q516B20 (P9-V)
E511B20 (XDS21-S2)
E511B20 (P12-B)
P517A16 (SP32-A)
P516A16 (P9-p)
(K103-8) P512D16
B
C
D
E
F
(P9-X) D508A22
(TB503-8L) D508AA22
Q506C20 (TB503-4E)
(TB503-8K) E520L22
(SP82-B) E519C20
E564E20 (TB503-7B)
J512E20 (TB503-4B)
(S11-1) E508A20N
(P1 SHLD) E528AA20N
(M35 GND) E556D20N
J502F20N (XDS9-C)
J509A20N (K304-7)
E528A22N (P1-C)
E529A22N (P2-A)
L506A22N (R110-1)
A
D
G
K
B
E
H
L
C
F
J
M
A
D
G
K
B
E
H
L
C
F
J
M
M531B20 (TB505-3/4F)
Q515B20 (P9-W)
J508C20 (P9-r)
JUMPER (TB503-7L)
E520B20 (S4A-3)
(CB143-2) G516A20
(TB505-1/2F) M531C20
P17H20 (K103-2)
L533Q20 BLK (SW PNL +)
L533R20 BLK (CB PNL +)
Q516B20 (P9-V)
E511B20 (XDS21-S2)
E511B20 (P12-B)
P517A16 (SP32-A)
P516A16 (P9-p)
(K103-8) P512D16
B
C
D
E
F
(P9-X) D508A22
(TB503-8L) D508AA22
(S11-1) E508A20N
(P1 SHLD) E528AA20N
(M35 GND) E556D20N
J502F20N (XDS9-C)
J509A20N (K304-7)
E528A22N (P1-C)
E529A22N (P2-A)
L506A22N (R110-1)
A
D
G
K
B
E
H
L
C
F
J
M
E529AA22N (P2-SHLD)
E563A22N (P12-W)
L534L20N WHT OR RED (CB PNL -)
H501B20N (E2)
F501R20N (FL100 GND)
(DS14-2) E510A22N
(M26 SP15-A) L537Z20N
E562E20 (TB503-7E)
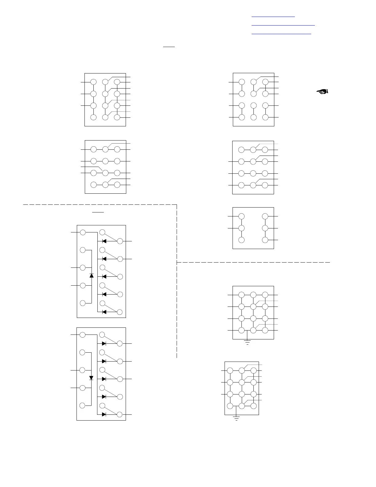
Figure 202. Console Wiring Diagram (369E; 001 383) (Sheet 7 of 7)

Table of Contents

Other manuals for MD Helicopters 369D

Related product manuals