EasyManua.ls Logo

Nautel Vector-LP VR125 - Part of NAPI76 A;02 Exciter Interface PWB A2

Nautel Vector-LP VR125
150 pages
Print Icon
To Next Page IconTo Next Page
To Next Page IconTo Next Page
To Previous Page IconTo Previous Page
To Previous Page IconTo Previous Page
Loading...
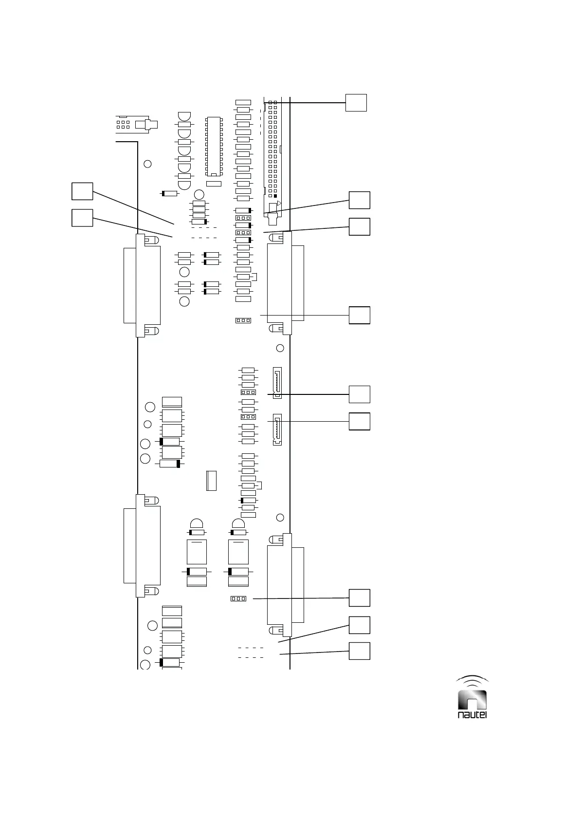
Page 3-8 Vector-LP Radio Beacon Transmitter Technical Instruction Manual
Issue 1.1 Section 3 Operating Instructions
Figure 3-
-
4 Part of NAPI76A/02 Exciter Interface PWB A2
E1
E11
E10
E2
E3
E4
E5
E6
E7
E8
E9
TP3
TP4
C4
Q1
C5
C6
R7
C7
R9
C8
R11 C9
C11
E111
E101
R15
R17
R18
R40
R20
1E5
R23
R24
R26
R27
R29
R30
CR8
C15
E8
21
E9
21
R13
CR24
R36
C10
CR27
CR28
CR26
+
C16
+
C17
+
C18
+
C22
R4 R5
R3
Q4
Q3
R8
R6
R12
R10
R14
CR1
CR3
CR2
R37
R38
+
C27
R32
R16
C13
C14
C21
E4
1
AK
CR4
L2
1E6
R19
R21
R22
CR5
L4
CR6
R25
R28
C19
Q6
CR10
R39
Q7
C20
CR12
CR14
AK
L7
L6
CR15
AK
R35
21
E2
21
E3
CR9
CR11
CR13
AK
12
E1
CR23
U4
CR25
1
J11
J16
1
J4
1
+
C23
CR7
AK
1
J10
Q5
Q2
+
C12
J15
+
C28
L3
R31
1
J6
K1
AK
CR18
CR16
1
J5
K2
E7
1
J13
1
DGPS
DGPS
DGPS
BEACON
BEACON
BEACON
BEACON
DGPS
DGPS
BEACON
DGPS BEACON

Table of Contents

Related product manuals