EasyManua.ls Logo

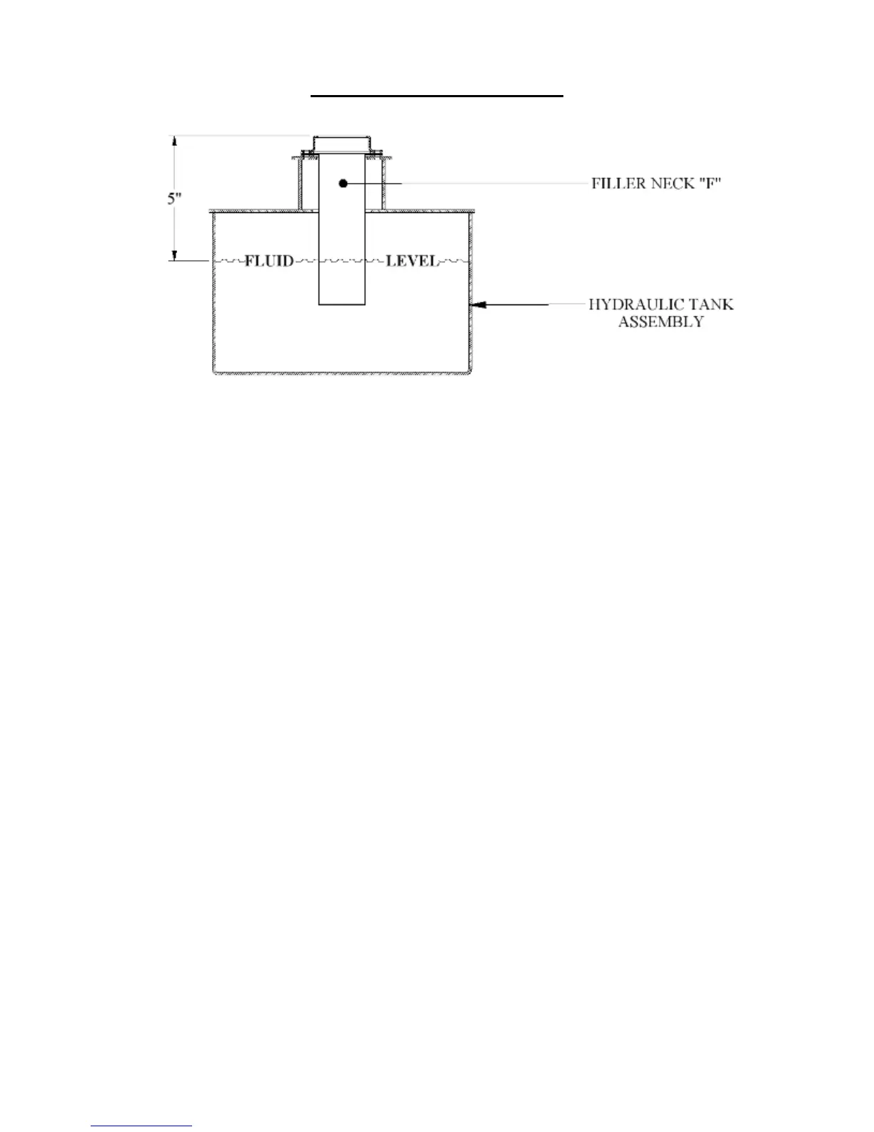
NTM SSQ MultiPro - Figure 15: Hydraulic Fluid Level

NTM SSQ MultiPro
118 pages
Print Icon
To Next Page IconTo Next Page
To Next Page IconTo Next Page
To Previous Page IconTo Previous Page
To Previous Page IconTo Previous Page
Loading...
CHAPTER 7
HYDRAULIC SYSTEMS
25
Figure 15: Hydraulic Fluid Level

Table of Contents