EasyManua.ls Logo

Onity HT22 - Page 147

Onity HT22
153 pages
Print Icon
To Next Page IconTo Next Page
To Next Page IconTo Next Page
To Previous Page IconTo Previous Page
To Previous Page IconTo Previous Page
Loading...
Setting Up the System - 139
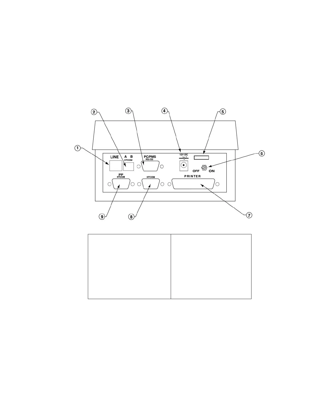
unit is located on the rear panel, as shown in Figure 10
on page 141 below. To turn on the HT22, move the
switch toward the word “On” (toward the side of the
unit). To turn off the HT22, move the switch toward the
word “Off” (away from the side of the unit).
1. Telephone Line Jack
2. HTCOM Connector for
On-line Controllers
3. RS232 Serial Port
4. Power Connector
5. Strain Relief for Power
Cord
6. Power Switch
7. Connector for Parallel
Printer
8. HTCOM Connector for
Encoders
9. HTCOM Connector for
PP and Encoders
Figure 10 – Rear Panel Connections
For the purpose of the training, we will set up the
Encoder(s), the Portable Programmer and the Printer.
We will also initialize the Sample Mounted Lock to use
throughout the training.

Table of Contents