Chapter 5. Peripheral Equipment
Section
300~installation
Installation
1.
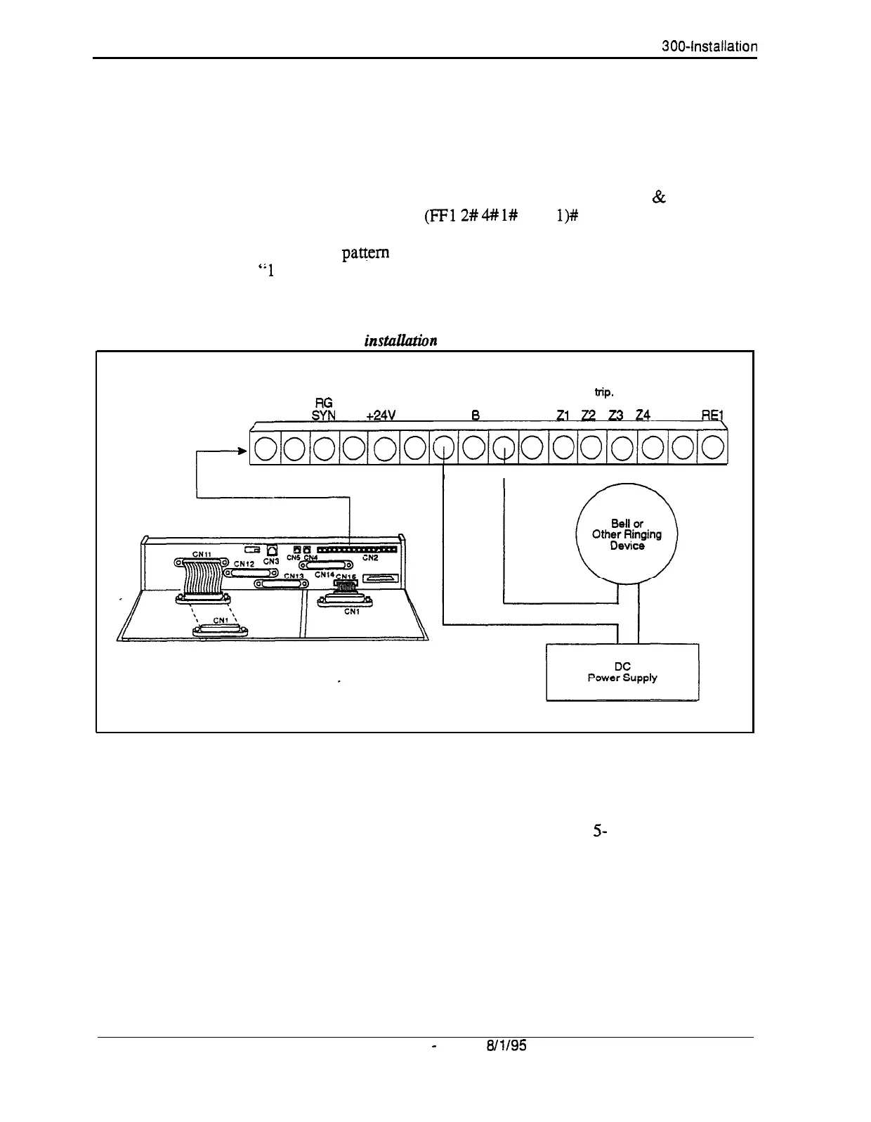
Connect the external ringer to the “C” and “M” terminals on the
Connector Panel. (See Figure 5-9 on page 5-18.)
Note: When the Ring Patterns for UNA Terminals (M, C,
&
B)
programming command
(FF12#4#
l#
(0 or
l)#
is set to 0, connecting the
ringer to the “C” and “M” terminals provides a “1 second on/3 seconds
off’ ringing
pattern and connecting to “C” and “B” terminals provides a
“1
second off/3 seconds on” ringing pattern.
2.
Connect the external ringer to its DC power source.
Figure 5-9. External ringer (UNA device)
installalim
CN2
Note: Connect to C and B Terminals if
bell needs to break contact to
b’ip.
-48V SG
&:
RG
+24V
GND C
6
M ZO
Zl
22
23
24
RE2
REl
/
rr
o’o~olo~ololoioiolololololololo)
I
Notes:
l
Most often, Univeral Night Answer notification is provided by an external
ringer device. Universal Night Answer (UNA) can alternatively be set to
ring over the paging system. See “Paging” on page
5-
14 for more
information.
l
If UNA operates over a external ringer device, it is not recommend that
external paging also be used. Since contacts C, B and M activate for both
UNA calls and external pages, the external ringer device would turn ON
for all pages.
5-l 8 DBS Manual
-
Issued
8/l/95
DBS-70-300
Technical Manuals Online! - http://www.tech-man.com