EasyManua.ls Logo

Panasonic DBS 40 - Trunks; Trunk Connectors

Panasonic DBS 40
159 pages
Print Icon
To Next Page IconTo Next Page
To Next Page IconTo Next Page
To Previous Page IconTo Previous Page
To Previous Page IconTo Previous Page
Loading...
Section
300~Installation
Chapter 4. Trunks and Lines
Trunks
Trunk Connectors
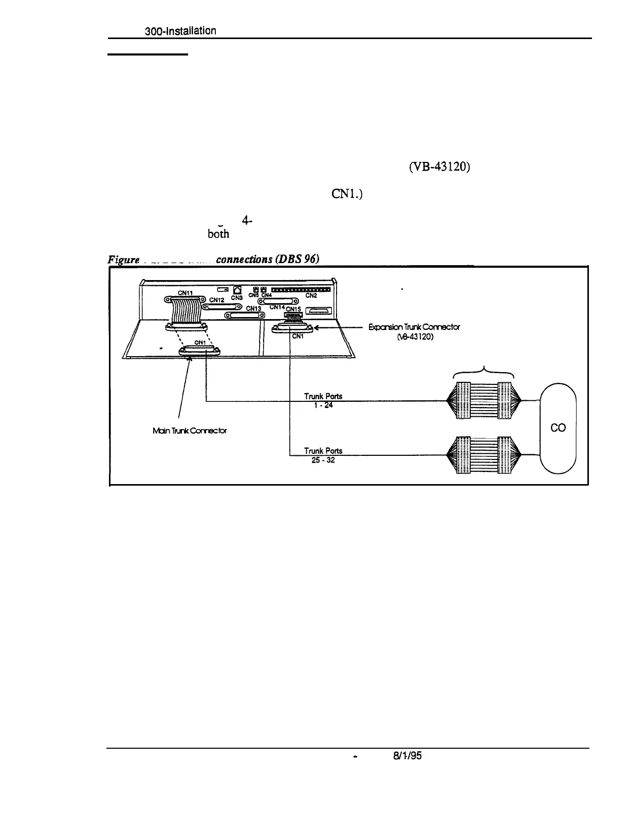
Each DBS cabinet is provided with one main trunk connector, labeled CN 1.
In addition, a trunk expansion connector (VB-43120) can be added to the
DBS to provide eight additional trunk connections. (The trunk expansion
connector is also labeled
CNl.)
Figure
4-
1 shows the maximum number of trunks that can be connected when
both
trunk connectors are used with a DBS 96.
imre
4-l. DBS trunk
connedions
(DBS
96)
MDF
0
co
DBS-70-300
DBS Manual
-
Issued
8/l/95
4-3
Technical Manuals Online! - http://www.tech-man.com

Table of Contents

Related product manuals