EasyManua.ls Logo

Panasonic DBS 40 - Cabinet Description

Panasonic DBS 40
159 pages
Print Icon
To Next Page IconTo Next Page
To Next Page IconTo Next Page
To Previous Page IconTo Previous Page
To Previous Page IconTo Previous Page
Loading...
Section
3004nstallation
C a bine t De sc riptio n
Chapter 2. System Overview
Panasonic’s Digital Business System (DBS) is a hybrid telephone system that
can be used as a key service unit (KSU) or a private branch exchange
(PBX).
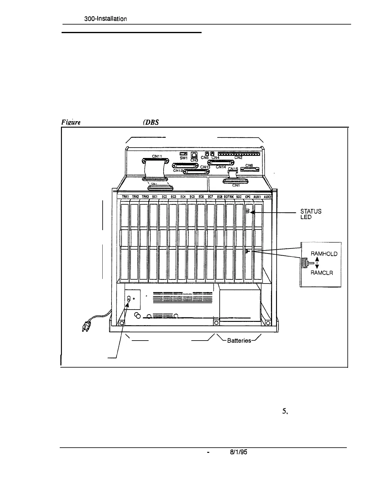
The DBS cabinet includes an AC power supply, backup batteries (optional),
dedicated card slots, and a central connector panel for line and trunk
connections.
Finirre
2-1. The DBS cabinet (DBS 96 shown)
Card
Slots
,-
Connector Panel
-,
---
--
------
Q*
/P
0
.
SSEEE1=E
o==o
------
------
------
--
--
------
--
--
h
Power Supply
-
\Batteriesl
I
Power Switch
-
In addition to trunk and line connection, the connector panel is used to
connect peripheral equipment such as paging speakers, external ringers, and
music-on-hold/background music sources. Figure 2-2 on page 2-4 shows
trunk and line connections, as well as some peripheral connections.
Peripheral connections are covered in detail in Chapter
5,
“Peripheral
Equipment.”
DBS-70-300 DBS Manual
-
Issued
8/l/95
2-3
Technical Manuals Online! - http://www.tech-man.com

Table of Contents

Related product manuals