EasyManua.ls Logo

Panasonic DBS 40 - Page 30

Panasonic DBS 40
159 pages
Print Icon
To Next Page IconTo Next Page
To Next Page IconTo Next Page
To Previous Page IconTo Previous Page
To Previous Page IconTo Previous Page
Loading...
Chapter 3. Cabinet Installation
Section
300-Installation
4.
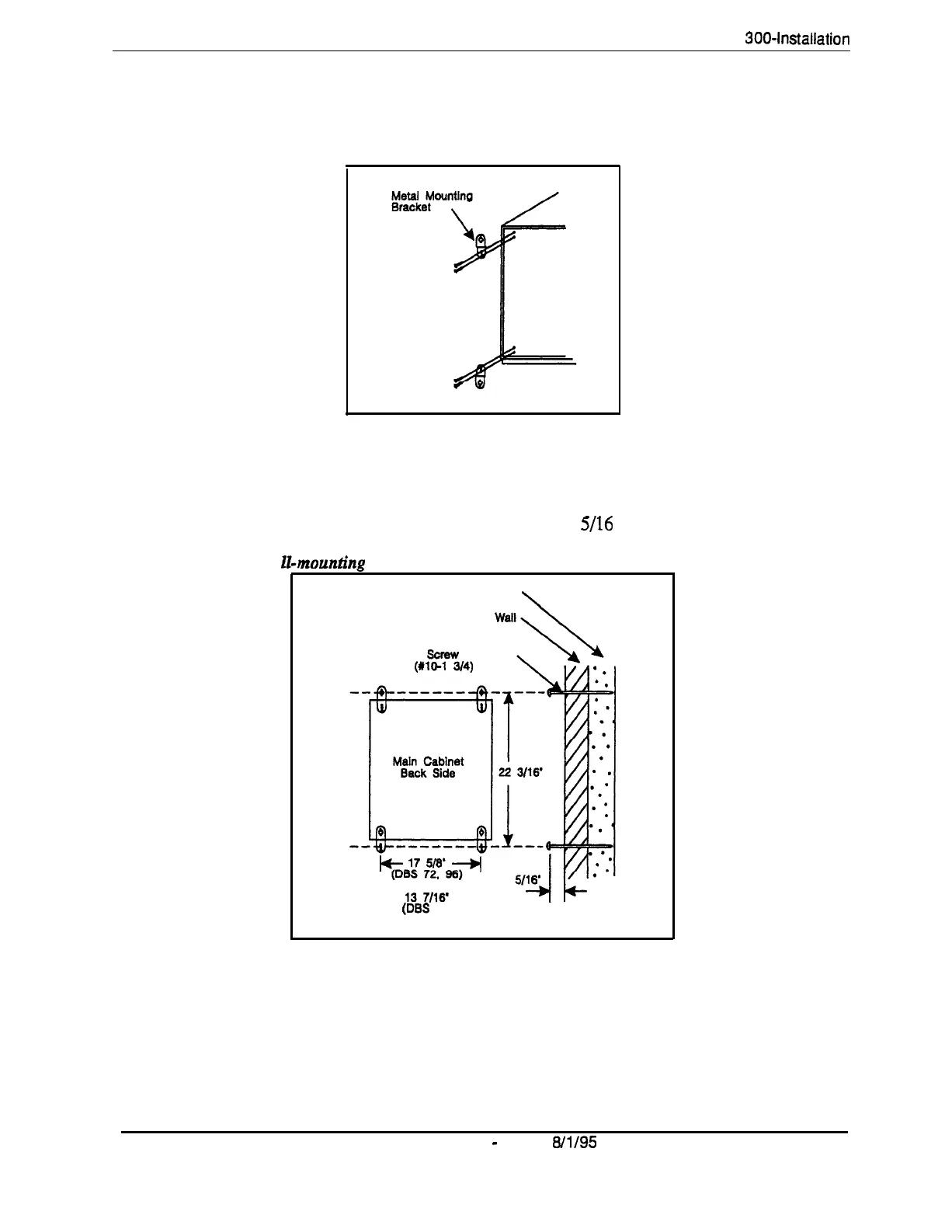
Attach the mounting brackets to the four comers of the back side of the
cabinet.
Figure 3-2. Cabinet mounting bracket
Figure 3-3. Cabinet wa
5.
Install four screws in the wall studs according to the dimensions given in
Figure 3-3. (Note that the width dimension is different for the DBS 40.)
.
The screws are used to attach the mounting brackets to the wall. The
screws should protrude from the wall
5/16
in.
mountinp
Stud
\
(DES
40)
6.
Hang the cabinet on the wall by placing the mounting brackets over the
screws.
7.
Tighten the screws to secure the cabinet.
3-4
DES Manual
-
Issued
8/l/95
DBS-70-300
Technical Manuals Online! - http://www.tech-man.com

Table of Contents

Related product manuals