EasyManua.ls Logo

Panasonic DBS 40 - Page 45

Panasonic DBS 40
159 pages
Print Icon
To Next Page IconTo Next Page
To Next Page IconTo Next Page
To Previous Page IconTo Previous Page
To Previous Page IconTo Previous Page
Loading...
Section
300~installation
Chapter 3. Cabinet Installation
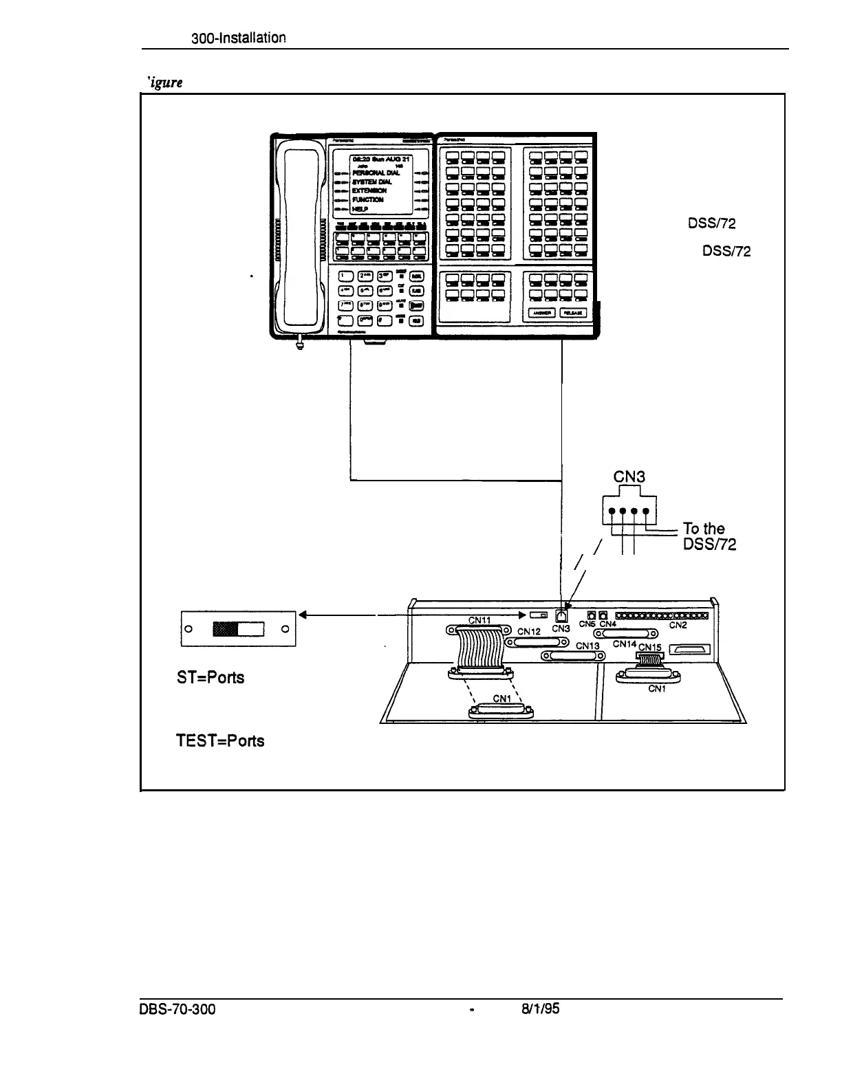
igure
3-18. Test telephone connection
Test Phone
DSS Console
SW1
TEST=Ports 7 and 8
are connected through
CN 3
Note: Port 7 must be
assigned as extension
101 and the
DSS/72
assigned as telephone
type 13 for the
DSW72
to operate.
Two-Conductor
Cable (Port 7)
Two-Conductor
Cable (Port 8)
ST-TEST
ST=Ports 7 and 8
are connected through
the MDF
1
/
To the
I/
telephone
DBS-70-300
DBS Manual
-
Issued
8/l/95
3-19
Technical Manuals Online! - http://www.tech-man.com

Table of Contents

Related product manuals