EasyManua.ls Logo

Panasonic DBS 40 - Page 53

Panasonic DBS 40
159 pages
Print Icon
To Next Page IconTo Next Page
To Next Page IconTo Next Page
To Previous Page IconTo Previous Page
To Previous Page IconTo Previous Page
Loading...
Chapter 4. Trunks and Lines
Section
3004nstallation
2.
Install the loop-start trunk in a trunk slot.
3.
Use a standard 50-pin cable to connect the trunks from the MDF to the
main trunk connector
CNl.
Insta lla tio n with C a lle r ID
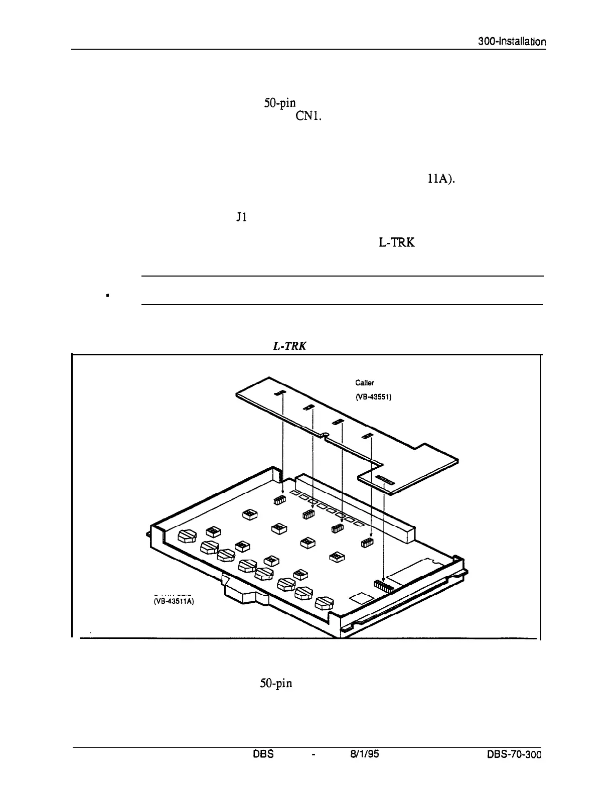
1.
Remove the cover from the L-TRK card (VB-435
11A).
This cover should
be set aside since it cannot be reinstalled with a Caller ID Board installed.
2.
Cut strap
Jl
on the L-TRK card as shown in Figure 4-2.
3.
Set switches SW1 through SW8 on the L-‘IRK card (VB-43511A) to
OFF.
A
IMPORTANT: When caller ID is used, you must correctly set the switches to prevent possible
I
damage to the
L-TRK
card.
4.
Attach the Caller ID card to the L-TRK card.
Figure 4-3. Attaching Caller ID Card to the I,-TRK Card
Caller
ID Board
L-TRK Card
5.
Install the L-TRK card in a trunk slot.
6.
Use a standard 50-pin cable to connect the trunks from the MDF to the
main trunk connector CN 1.
4-8
DES
Manual
-
issued
8/l/95
DBS-70-300
Technical Manuals Online! - http://www.tech-man.com

Table of Contents

Related product manuals