EasyManua.ls Logo

Panasonic DBS 40 - Page 55

Panasonic DBS 40
159 pages
Print Icon
To Next Page IconTo Next Page
To Next Page IconTo Next Page
To Previous Page IconTo Previous Page
To Previous Page IconTo Previous Page
Loading...
Chaoter
4. Trunks and Lines
Section
300-Installation
Installation
1.
Install the
G-IRK/8
or DID card in a trunk slot.
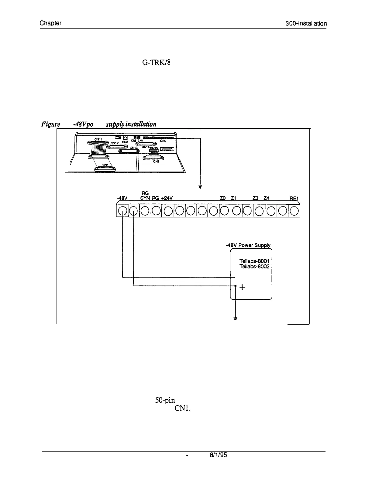
2.
Connect the power supply by cabling the positive side to the SG
connector on CN2 (Figure 4-4).
Note: Use cables that are 18 AWG or larger
to
connect the power supply
Figu
to
the DBS.
4-4. -4W po wer
supply
installadion
1
CN2
-48V
SG
:tt
RG
+24V
GND C
8 M
20
Zl
Z2
23
24
RE2
REl
o/ololo/o1o/ololo/o/ololoioioj
Recommend:
Tellabs-8001
Tellabs-8002
3.
Ground the positive side of the -48V power supply to the building
ground.
Note: Resistance to ground must be 10 Ohms or less, and the ground cable
must be 18 AWG or larger.
4.
Install power-surge protectors between the wall outlet and the -48V
power supply.
5.
Use a standard 50-pin cable to connect the trunks from the MDF to the
main trunk connector
CNl.
6.
Use a test set to verify the polarity of the trunk.
4-10
DBS Manual
-
Issued
8/l/95
DBS-70-300
Technical Manuals Online! - http://www.tech-man.com

Table of Contents

Related product manuals