EasyManua.ls Logo

Panasonic DBS 40 - Page 75

Panasonic DBS 40
159 pages
Print Icon
To Next Page IconTo Next Page
To Next Page IconTo Next Page
To Previous Page IconTo Previous Page
To Previous Page IconTo Previous Page
Loading...
clnaprer
4. I I
UI
IW
dl
IU
LII
w8
3wAIcJrI
Juu-lrlstallaIlorl
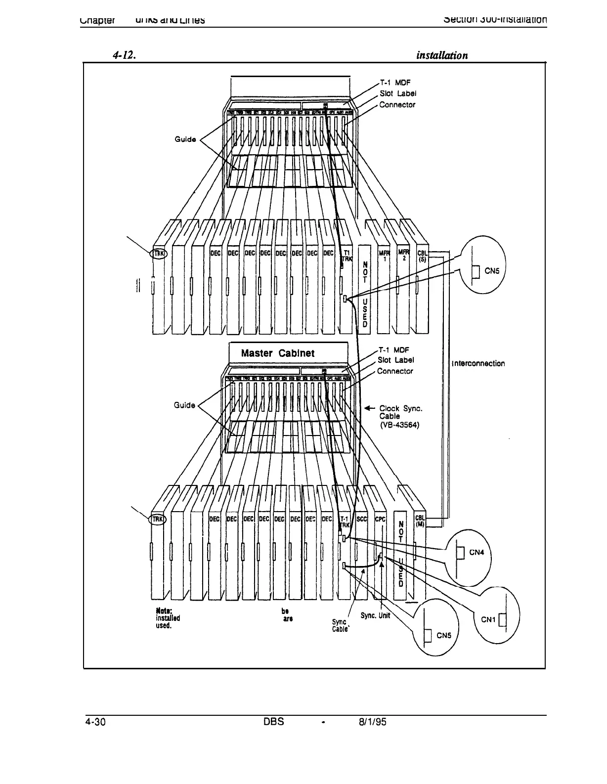
Figure
4-i2.
Clock sync cable and sync cable connections, double-cabinet
instuttiztion
Card
Label
\
4
11
I
/I
i
1
Card
Label’
Slave Cabinet
lots:
The number of analog trunks that can
br
i&zled
depends on how many
Tl channels
are
Gl
CNS
nterconnection
Cables
4-30
DBS
Manual
-
Issued
8/l/95
DBS-70-300
Technical Manuals Online! - http://www.tech-man.com

Table of Contents

Related product manuals