EasyManua.ls Logo

Panasonic DBS 40 - Page 98

Panasonic DBS 40
159 pages
Print Icon
To Next Page IconTo Next Page
To Next Page IconTo Next Page
To Previous Page IconTo Previous Page
To Previous Page IconTo Previous Page
Loading...
Section
300~Installation
Chapter 5. Peripheral Equipment
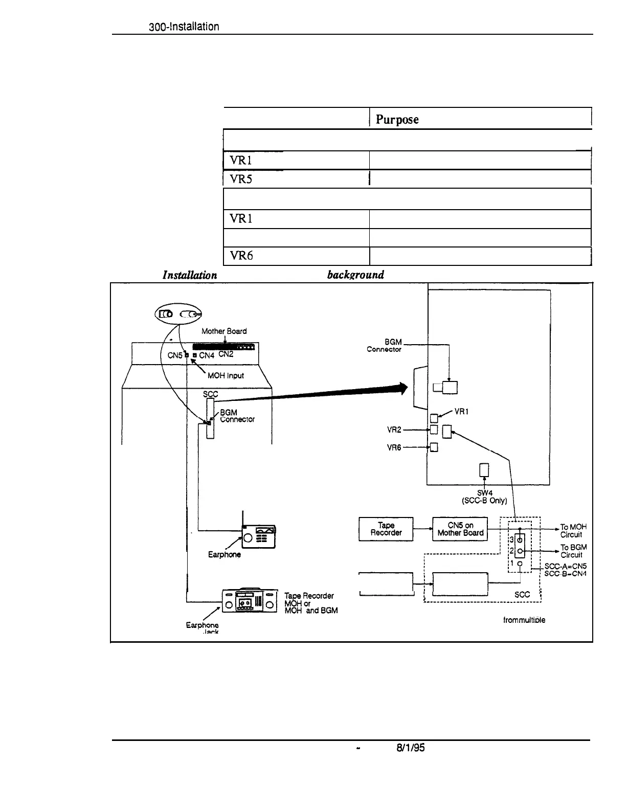
Note: To change the volume levels of the music sources, adjust the
variable resistors on the SCC card.
Table 5-3. SCC variable resistors
Variable Resistor
I
SCC-A
I
Adjusts CO ringing tone volume.
(
Adjust MOH and BGM volume.
VRl
vR2
VR6
SCC-B
Adjusts MOH volume.
Adjust BGM volume.
Adjusts CO ringing tone volume.
Figure 5-4.
Znstilation
of
music-on-hold and backwound music
Radio
BGM only
Earphcne
Jack
I
Radio
BGM
Connector
t-
-
see
j
.,---.-.---------------------------!
Connect Pins 3 and 2 to route music from a single source
Connect Pins 1 and 2 to route music
lrom
multble
sources
or use internal MOH tone.
DBS-70-300
DBS Manual
-
Issued
8/l/95
5-9
Technical Manuals Online! - http://www.tech-man.com

Table of Contents

Related product manuals