EasyManua.ls Logo

Panasonic SA-VK480EE - Doctor Mode Table

Panasonic SA-VK480EE
163 pages
Print Icon
To Next Page IconTo Next Page
To Next Page IconTo Next Page
To Previous Page IconTo Previous Page
To Previous Page IconTo Previous Page
Loading...
23
6.2. Doctor Mode Table
CR14D
Inspection
To check the function operation of
mechanism unit
In Doctor mode:
1. Press [ DISC] button
on remote control.
OR [0133] on Special
Remote Control.
To exist, press any key
FL Display
Key Operation
Front Key
Item
DescriptionMode Name
Doctor Mode
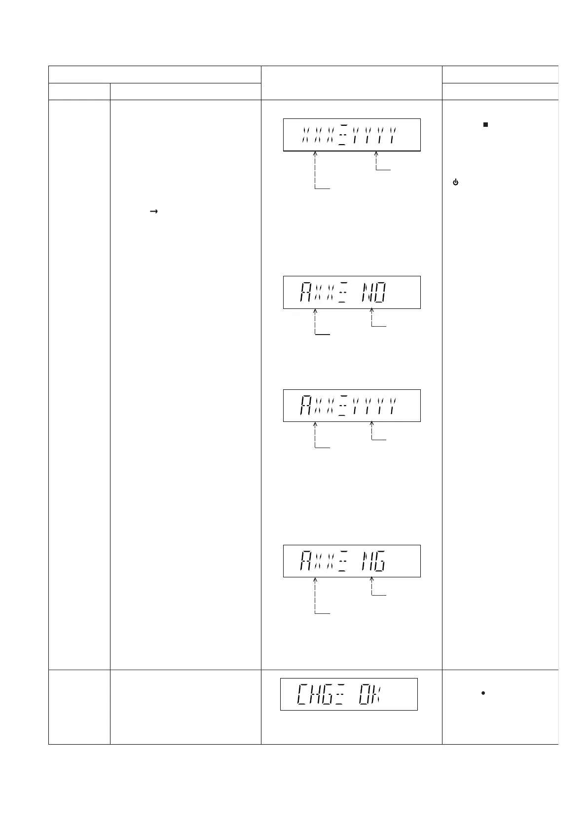
1. The check Sum of EPPROM and firmware
version will be display.
* ROM correction.
* Firmware Version No:
If there is no EEPROM Correction.
checksum: (Condition 1):
Opecon
Version
No Correction
Point Data
EEPROM Checksum
(if applicable)
Firmware
Version (DEC)
(Display 1)
If the EEPROM version matches, checksum
[YYYY] is displayed.
If the version of the EEPROM does not
match or not working properly [NG] is
displayed
checksum: (Condition 2):
checksum: (Condition 3):
Checksum
value (HEX)
applicable
when the
EEPROM IC
is installed
Firmware
Version (DEC)
Firmware
different from
set
Firmware
Version (DEC)
To enter into Doctor Mode for checking
of variuos items and displaying
EEPROM and firmware version.
Note: The micro-processor version
as shown is an example. It will be
revise when there is an update.
FL Display sequence:
Display 1 2.
In CD Mode:
1. Press [ ] button
on main unit follow by [4]
and [7] on remote control.
-DEMO
To exist, press [ok] button on
remote control or press
[ /I, POWER] button on main
unit or remote control.

Table of Contents

Related product manuals