EasyManua.ls Logo

Pentair 2000 - SVP-Aseptik-Schrägsitzventil, Metallbalg - O-Ring SVP Aseptic Angular Seat Valve, Stainless Steel Bellow - O-Ring

Pentair 2000
48 pages
Print Icon
To Next Page IconTo Next Page
To Next Page IconTo Next Page
To Previous Page IconTo Previous Page
To Previous Page IconTo Previous Page
Loading...
Betriebsanleitung / Operating instructions
SVP-Aseptik-Ventil – Modell 2000
SVP aseptic valve – Model 2000
DN 010 – 020; OD 0.50" – 0.75"; ISO 008 – 015
46
BAA A370.03 M2000
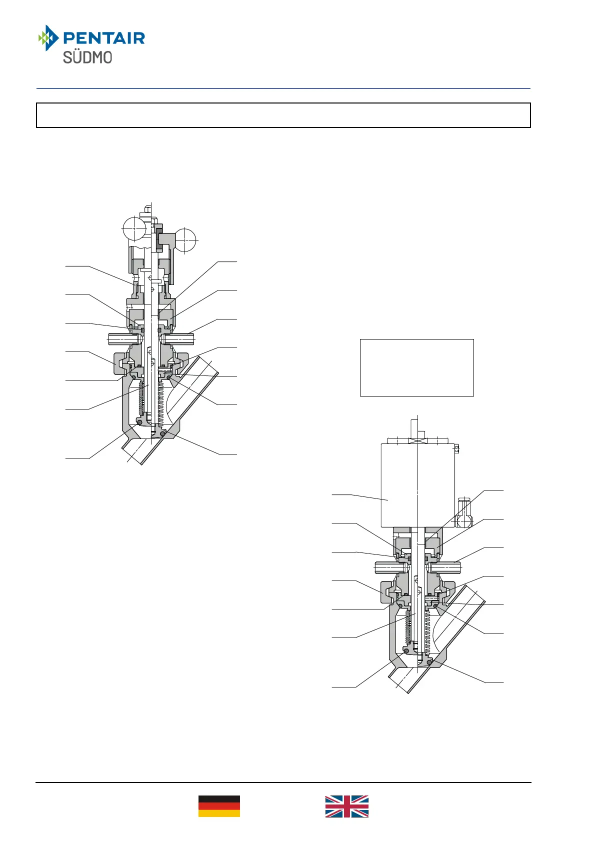
SVP-Aseptik-Schrägsitzventil, Metallbalg – O-Ring
SVP aseptic angular seat valve, stainless steel bellow – O-ring
Pneum. Steuerkopf
siehe BAA Z370.03
Pneum. actuator
see BAA Z370.03
1
2
3
4
5
6
7
8
9
10
11
12
13
15
1
2
3
4
5
6
7
8
9
10
11
12
14
15

Table of Contents

Related product manuals