EasyManua.ls Logo

Printronix P7010 - Load Paper

Printronix P7010
342 pages
Print Icon
To Next Page IconTo Next Page
To Next Page IconTo Next Page
To Previous Page IconTo Previous Page
To Previous Page IconTo Previous Page
Loading...
296
Appendix C Operation
Load Paper
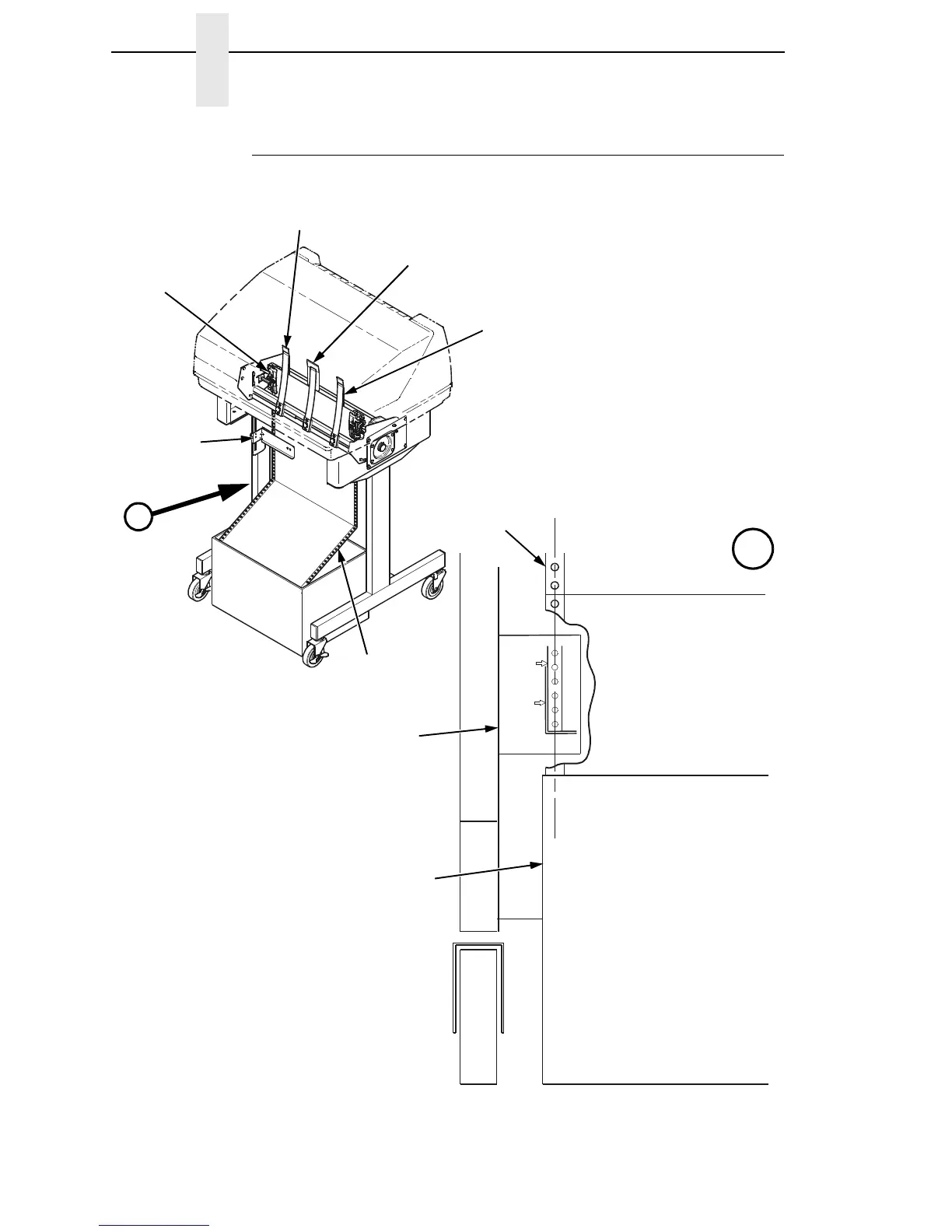
Figure 31. Loading Paper Onto The Printer
183486a
Paper
Paper Out
Sensor
Center Paper
Guide Leaf
Front Paper
Guide Leaf (3)
Tractor Door
Outer Paper
Guide Leaf (2)
A
183487a
A
Paper Supply
Box
Paper
Label
Edge
of
Paper
Box

Table of Contents