EasyManua.ls Logo

Ricoh D017 - Page 188

Ricoh D017
1271 pages
Print Icon
To Next Page IconTo Next Page
To Next Page IconTo Next Page
To Previous Page IconTo Previous Page
To Previous Page IconTo Previous Page
Loading...
Scanner Unit
SM 4-8 D017/D018/D019/D020/D084/D085
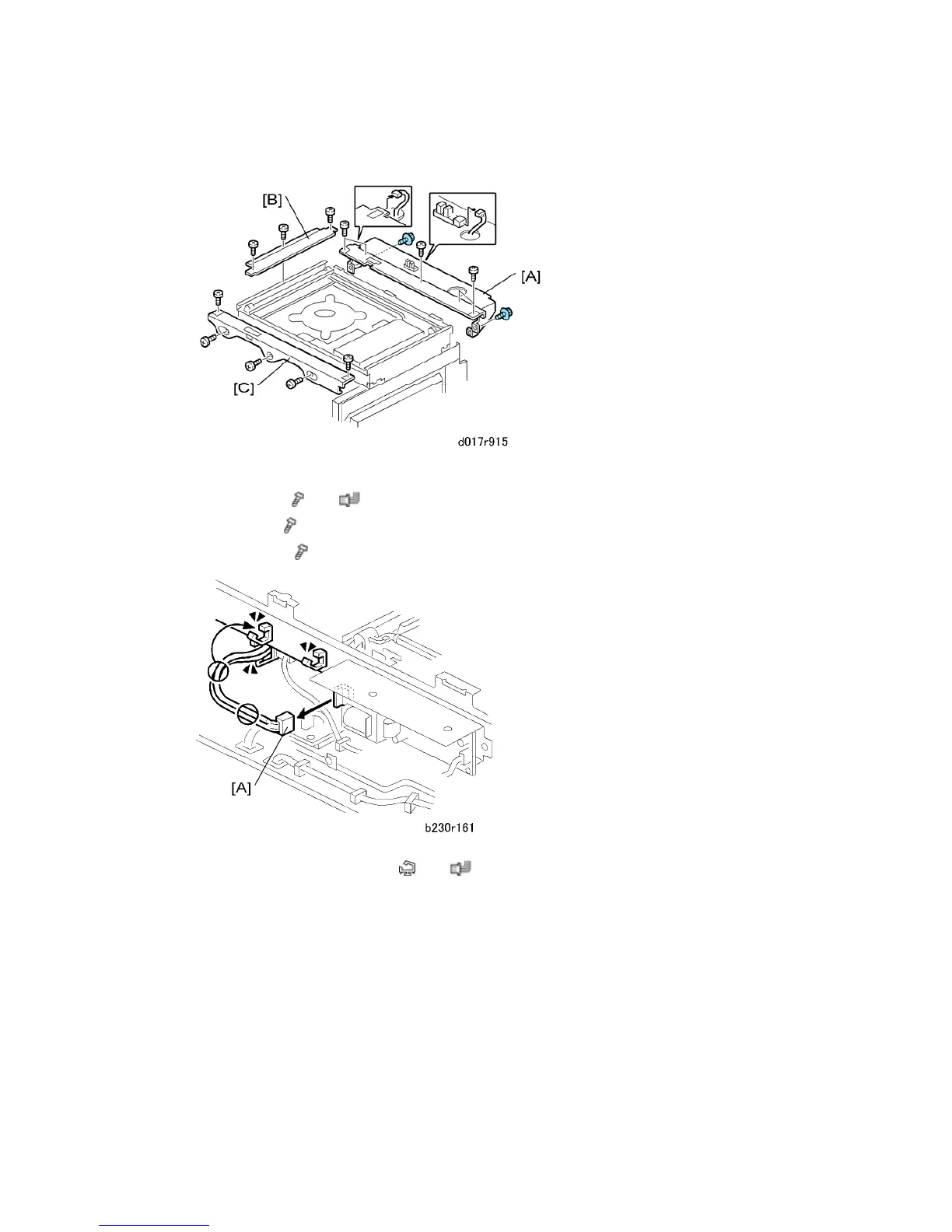
2. Remove:
[A] Rear stay (
x7, x2)
[B] Left stay (
x3)
[C] Front stay (
x5)
3. Disconnect the connector [A] (
x2, x1).

Table of Contents

Related product manuals