EasyManua.ls Logo

SABB MOTOR 2H - Running-In Procedures; Initial Run-In and Checks

SABB MOTOR 2H
142 pages
Print Icon
To Next Page IconTo Next Page
To Next Page IconTo Next Page
To Previous Page IconTo Previous Page
To Previous Page IconTo Previous Page
Loading...
-
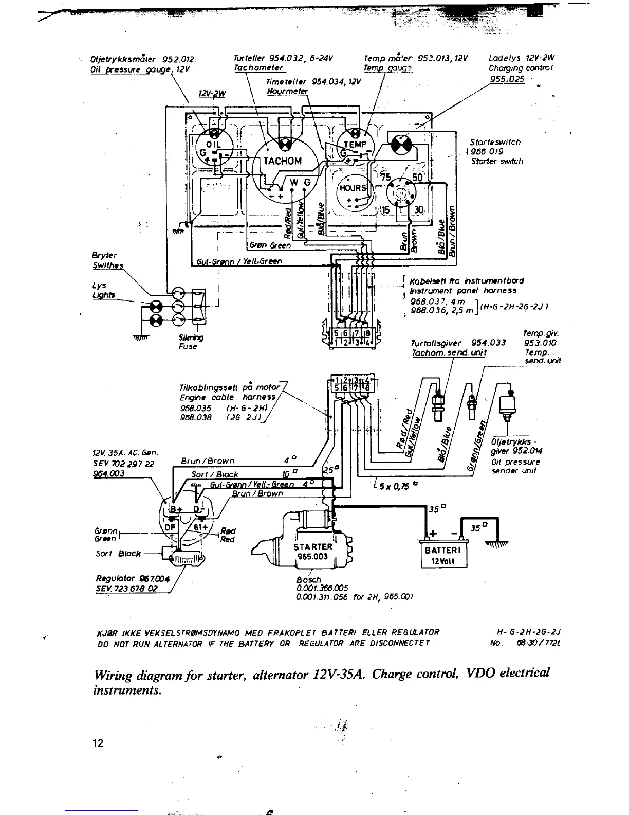
Otjetrykksmaler 952.0t2 TUf teller 954.032, 6-24V Temp má!er !J53.013,12V l.adetys 12V-2W
QiLP"~~!'!r~_~uge
\t2V Tachometer Tem '~- Chargin9 controt
\ Timetetter 954.034, t2V 955~
~ \ tf9!!rme!er . ,
Starteswitch
1966019
Star/er switch
J
Bryter
Swithes
Lys
lKabet5ett /I"a "strlHnentbad
L. Is lnstrlHnent ~nel harness
g68037.4m
968.035,2,5 m](H-G-2H-2G-2J 1
Tempgiv
953.010
Temp.
send. oot
TitkobtingssBtt m
~'OI' Engine cabte harness
968.035 (H-G-2HI ~
968.038 (2G 2JI
12~ 35A AC Gen. 14
SEV JO2 297 22 re
964.003 t
Gr.nn~
Green
50ft 8tack
Regulator ~Z004
SE~ 72357802
. 1 'or 2H, 965001
0( KJBR tKKE VEKSELSTRBMSDYNAMO MEO FRAKOPLET 8ATTERI ELLER REGULATOR H- G-2H-2G-2J
DO NOT RUN ALTERNAïOR IF THE BATTERY OR REGULATOR AI1E DtSCONAf:CTET No /i8.301772t
Wiring diagram/or starter, alternator 12V-35A. Charge contral, VDO electrical
instroments.
.!:I;.
12 .'
.
g

Table of Contents

Other manuals for SABB MOTOR 2H

Related product manuals