EasyManua.ls Logo

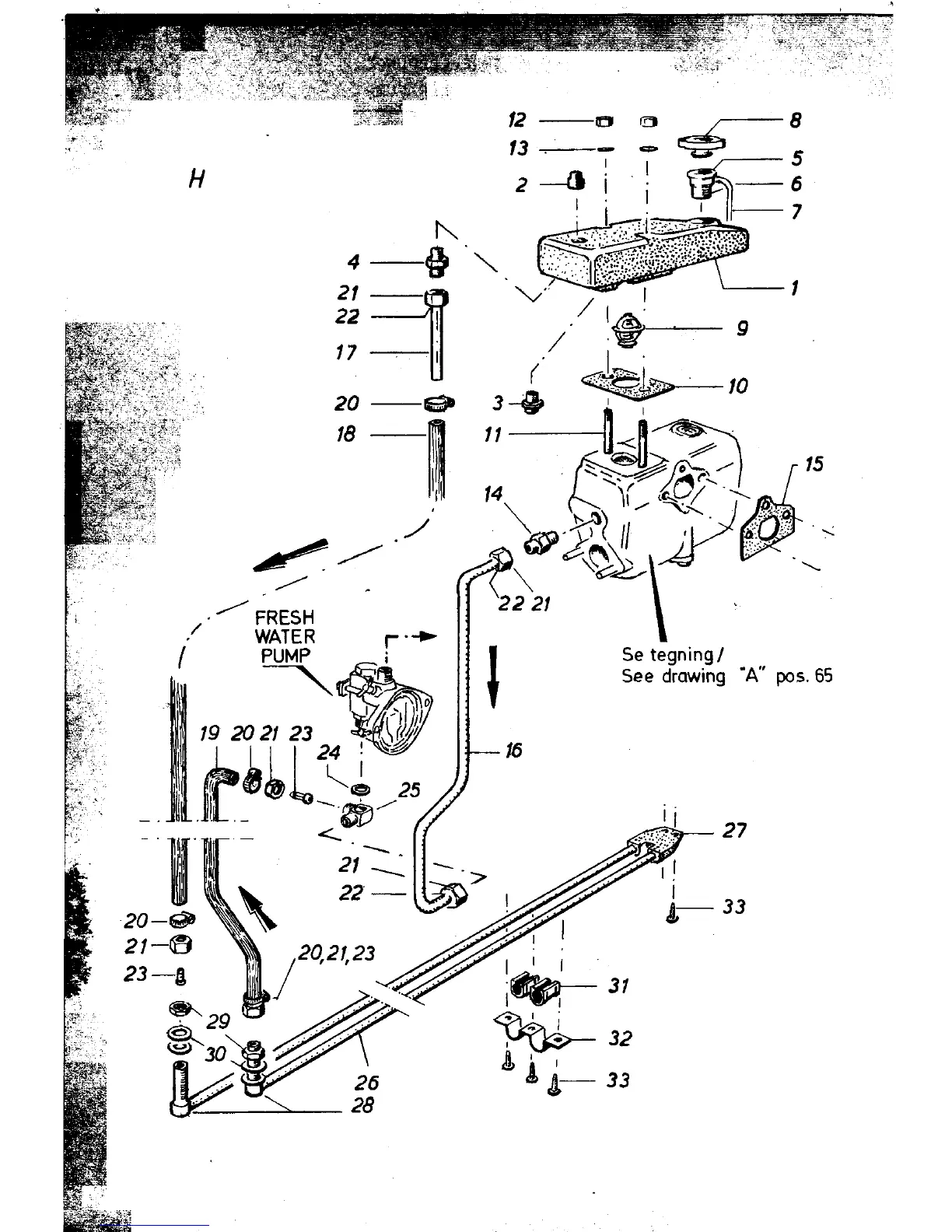
SABB MOTOR 2H - Fresh Water Cooling System Diagram

SABB MOTOR 2H
142 pages
Print Icon
To Next Page IconTo Next Page
To Next Page IconTo Next Page
To Previous Page IconTo Previous Page
To Previous Page IconTo Previous Page
Loading...
H 3 -,--- -;"' - ~~-- 8
2-fJi~ 5
"'" I 0 I -6
4-[1.' 7
21 _'ti"""
22
=:f171 ,~~ 1
I ./ oW ° 9
20 -S-( ,
18 - ~ 3~ 10 11 I
-<~
I
~'~~ I 14 ~-I'~~~ 15
./ '" ~I - lC',,-U,/ .
. '" . ~ ~~, .
, ' ...;
FRESH '
WATER ""-
PUMP ,
--~ g/
1 23 ing "A"
L pos, 6S 24
--.
<..
2 2 27
20,21,2 . I I 3
I I I
° i_~- 31
° 26 ~ 32
28 J,- 33

Table of Contents

Other manuals for SABB MOTOR 2H

Related product manuals