EasyManua.ls Logo

Siemens 6SL3120-2TE21-0AA3

Siemens 6SL3120-2TE21-0AA3
499 pages
To Next Page IconTo Next Page
To Next Page IconTo Next Page
To Previous Page IconTo Previous Page
To Previous Page IconTo Previous Page
Loading...
Line connection and line-side power components
3.8 Line reactors
Booksize Power Units
96 Manual, (GH2), 04/2014, 6SL3097-4AC00-0BP6
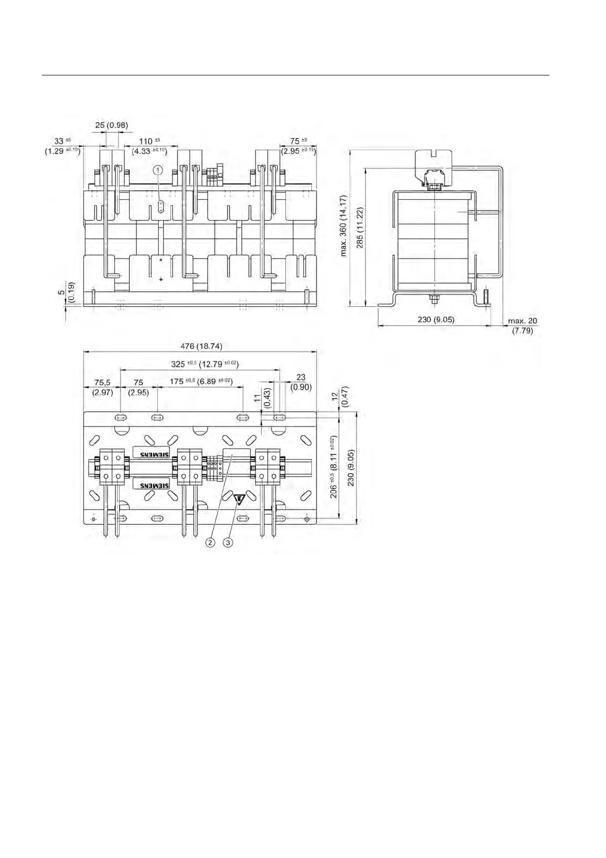
Transport eyebolts 10 x 25 mm (0.39 x 0.98 inch)
Terminal arrangement
Warning label
Figure 3-34 Dimension drawing of HFD line reactor 120 kW, all dimensions in mm and (inches)
Artisan Technology Group - Quality Instrumentation ... Guaranteed | (888) 88-SOURCE | www.artisantg.com

Table of Contents

Related product manuals