EasyManua.ls Logo

Siemens SIPROTEC 5 - Page 258

Siemens SIPROTEC 5
302 pages
Print Icon
To Next Page IconTo Next Page
To Next Page IconTo Next Page
To Previous Page IconTo Previous Page
To Previous Page IconTo Previous Page
Loading...
[dw_z1_1-1, 4, en_US]
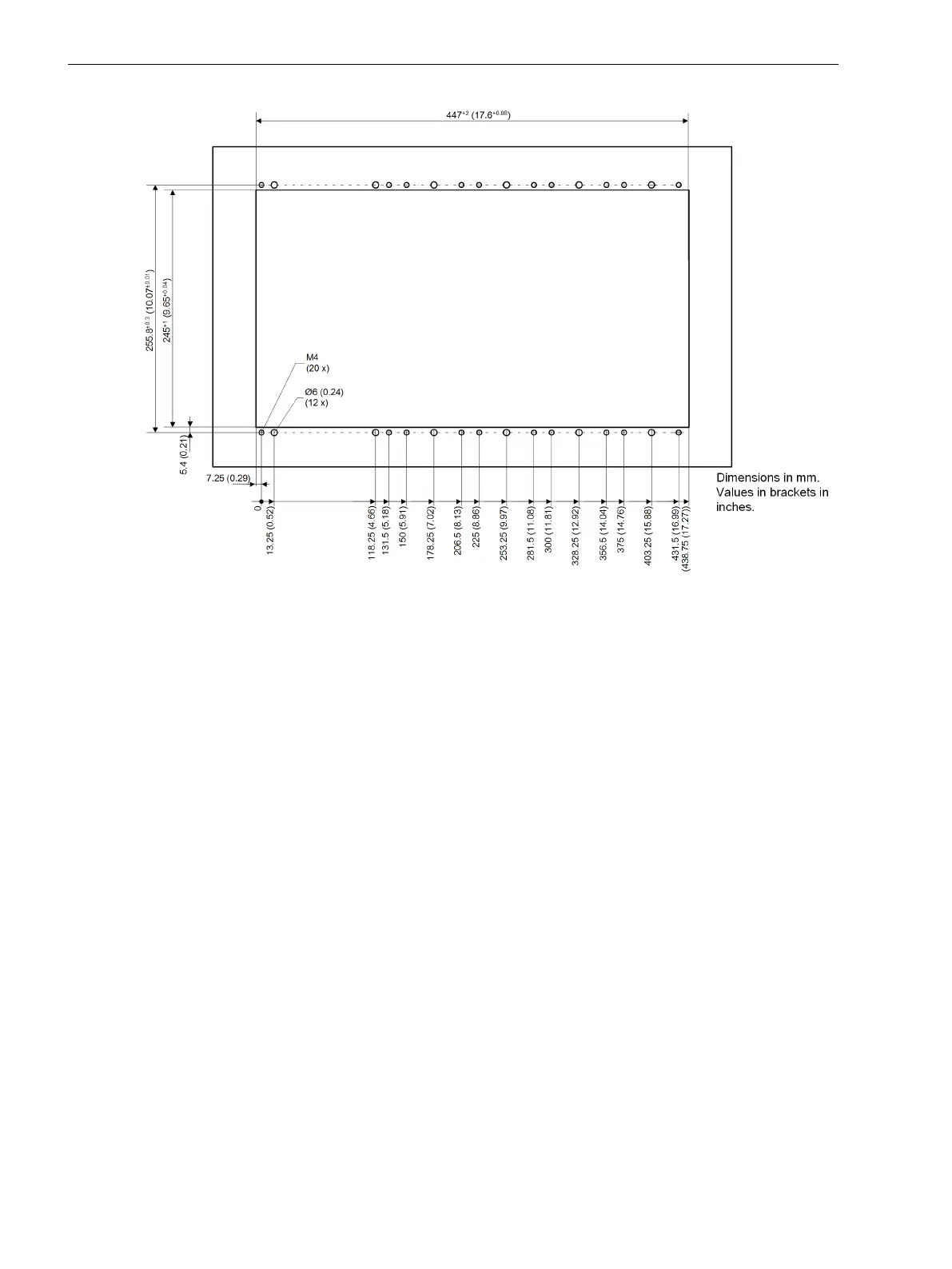
Figure 6-5
Cut-out Widths and Drilling Pattern - 1/1 Device, 1st Device Row
All holes in the area of the specific device cut-out width (see Table 6-8) must comply with the dimensions in
the corresponding figures.
Technical Data
6.14 Assembly Dimensions
258 SIPROTEC 5, Hardware Description, Manual
C53000-G5040-C002-N, Edition 04.2022

Table of Contents

Other manuals for Siemens SIPROTEC 5

Related product manuals