EasyManua.ls Logo

Siemens SIPROTEC 5 - Page 269

Siemens SIPROTEC 5
302 pages
Print Icon
To Next Page IconTo Next Page
To Next Page IconTo Next Page
To Previous Page IconTo Previous Page
To Previous Page IconTo Previous Page
Loading...
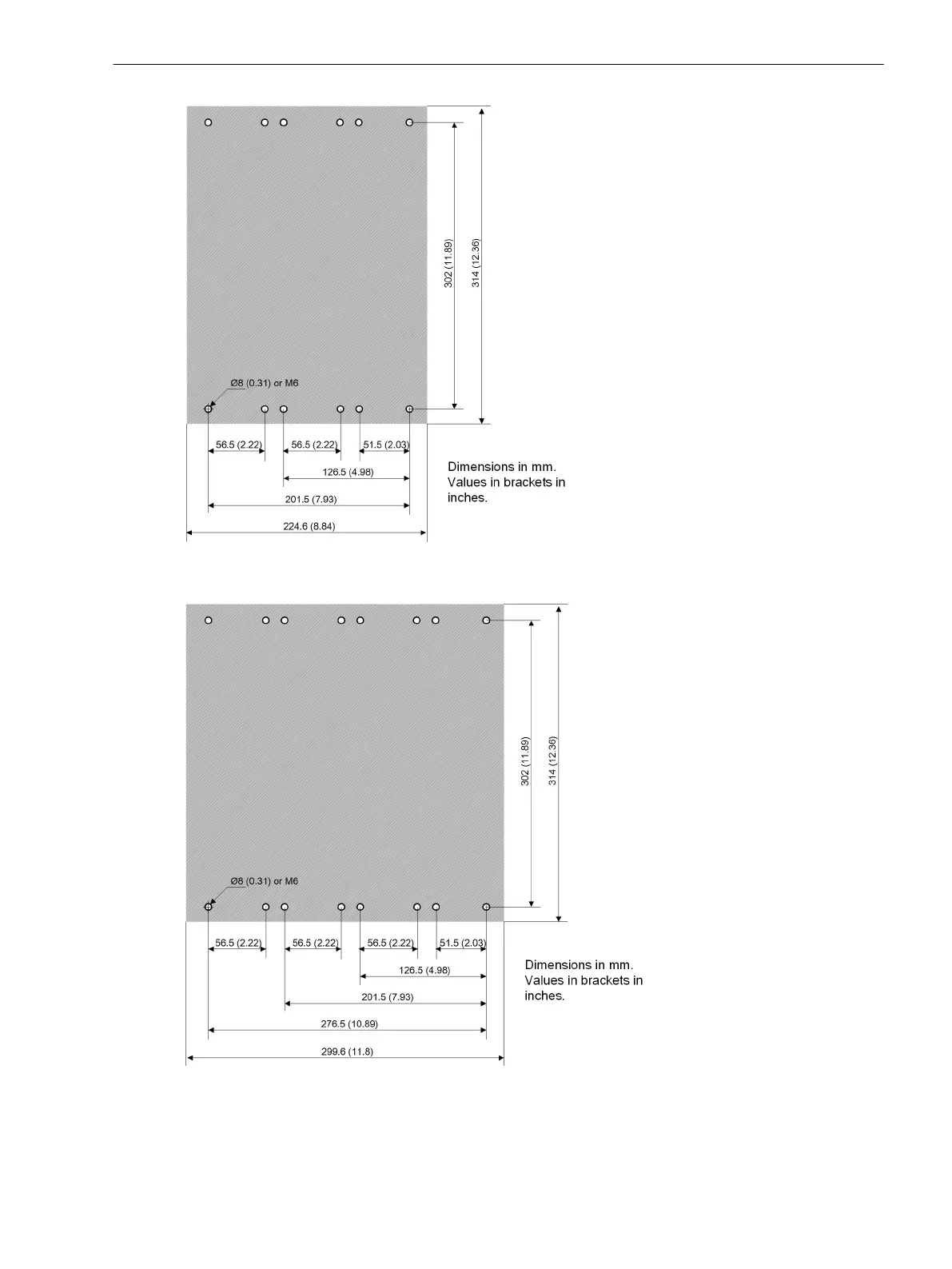
[dw_z2_bohr_1-2.vsd, 3, en_US]
Figure 6-21
Drilling Pattern of a 1/2 Surface-Mounted Device – 2nd Device Row
[dw_z2_bohr_2-3.vsd, 3, en_US]
Figure 6-22
Drilling Pattern of a 2/3 Surface-Mounted Device – 2nd Device Row
Technical Data
6.14 Assembly Dimensions
SIPROTEC 5, Hardware Description, Manual 269
C53000-G5040-C002-N, Edition 04.2022

Table of Contents

Other manuals for Siemens SIPROTEC 5

Related product manuals