EasyManua.ls Logo

Taylor-Dunn MX6-00 - Controls and Instruments (MX-600)

Taylor-Dunn MX6-00
200 pages
Print Icon
To Next Page IconTo Next Page
To Next Page IconTo Next Page
To Previous Page IconTo Previous Page
To Previous Page IconTo Previous Page
Loading...
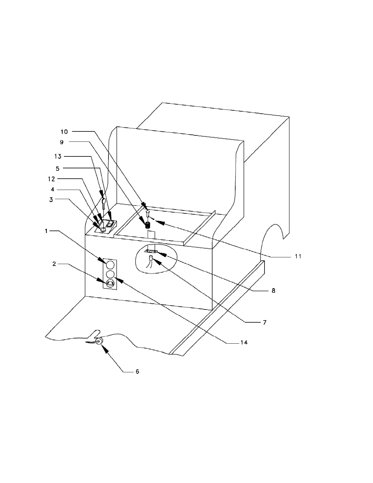
5-20
ILLUSTRATED PARTS
CONTROLS AND INSTRUMENTS (MX-600)

Table of Contents

Related product manuals