EasyManua.ls Logo

Tektronix TG8000 - Figure 2-27: AGL7 ALARM SELECT Submenu

Tektronix TG8000
498 pages
Print Icon
To Next Page IconTo Next Page
To Next Page IconTo Next Page
To Previous Page IconTo Previous Page
To Previous Page IconTo Previous Page
Loading...
Operating basics
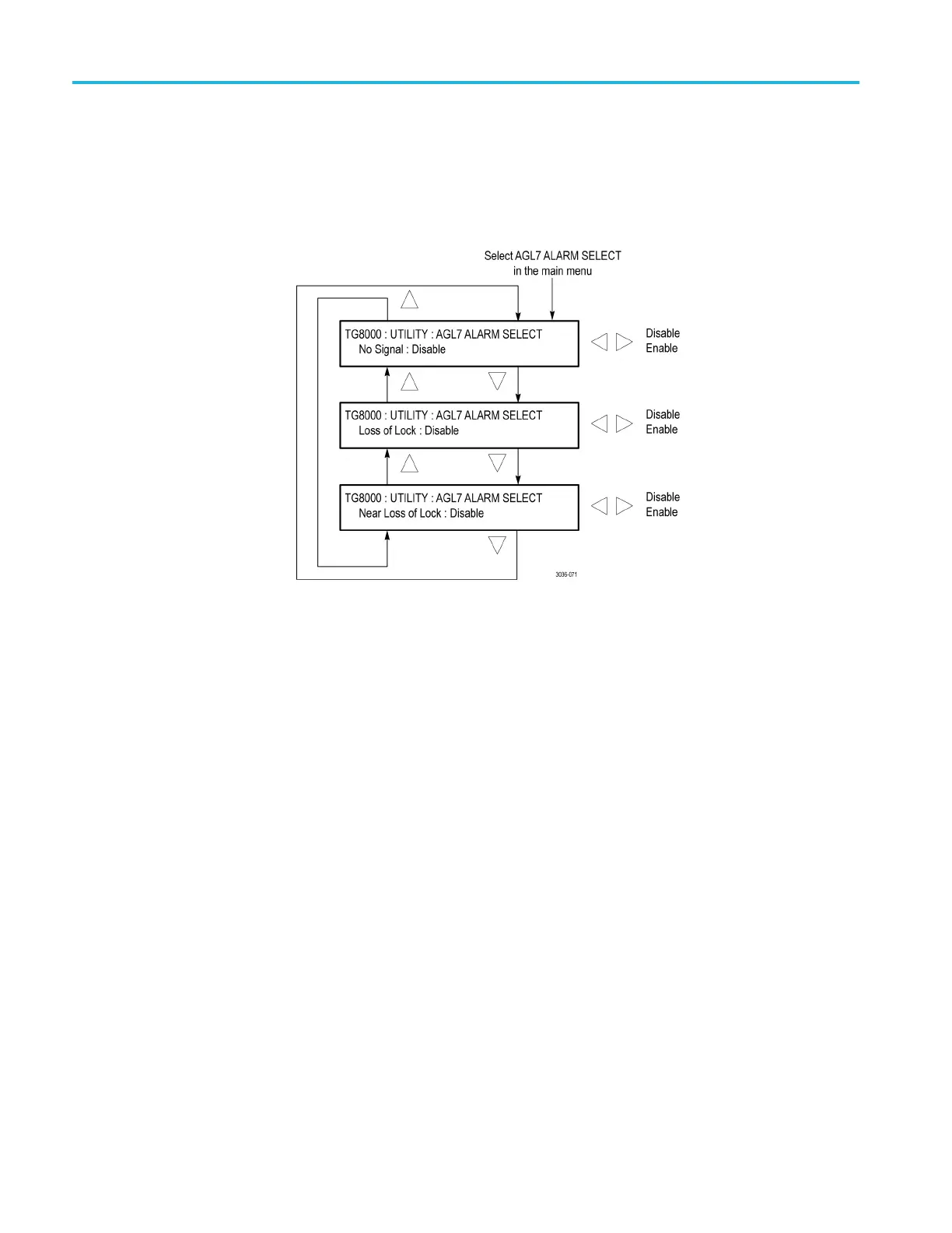
AGL7 ALARM S ELECT
submenu
This menu item a
ppears only w hen an AGL7 module is installed. Use this
submenu to select which AGL7 alarms are enabled or disabled. When the AGL7
ALARM OUTPUT menu selection is set to Enabled, the AGL7 module blanks
one of the black outputs when an enabled AGL7 alarm is triggered. The following
gure shows the AGL 7 ALARM SELECT submenu.
Figure
2-27: AGL7 ALARM SELECT submenu
For each of the following AGL7 alarms, use the left ()orright() arrow
butto
n to select between Enable and Disable, and then press the ENTER button
to implement the selection.
No Signal. Enables or d isables an AGL7 alarm signal when no genlock signal is
detected.
Los
s of Lock. Enables or disables an AGL7 alarm signal when a loss of genlock
condition is detected.
Near Loss of Lock. Enables or disables an AGL7 alarm signal when a loss of
genlock c ondition is detected. This can happen when the frequency of the input
signal is too far from the correct frequency.
2–42 TG8000 Multiformat Test Signal Generator User Manual

Table of Contents

Other manuals for Tektronix TG8000

Related product manuals