EasyManua.ls Logo

Tektronix TG8000 - Page 353

Tektronix TG8000
498 pages
To Next Page IconTo Next Page
To Next Page IconTo Next Page
To Previous Page IconTo Previous Page
To Previous Page IconTo Previous Page
Loading...
HD3G7 HD 3 Gb/s SDI Video Generator module
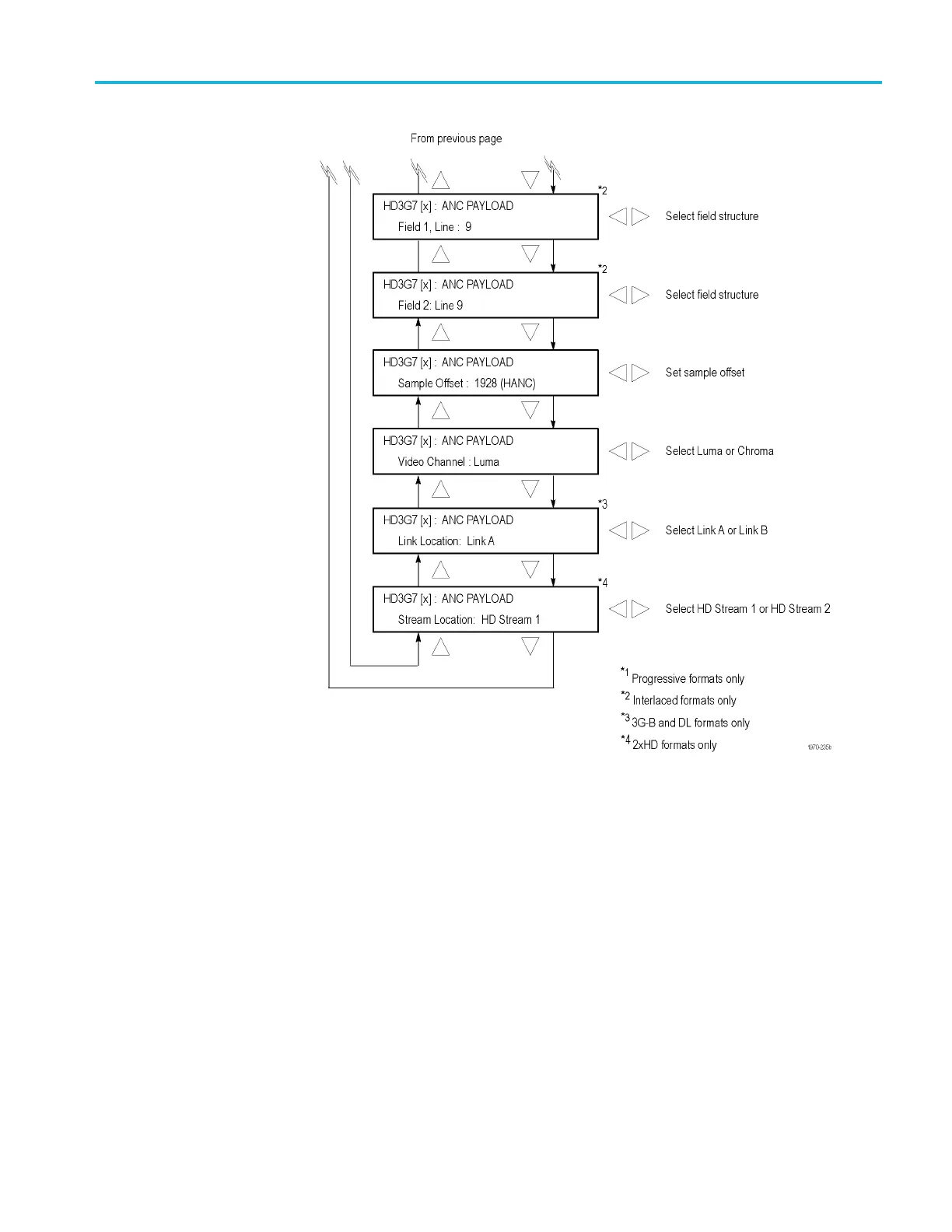
Figure 3-94: HD3G7 module Ancillary Payload submenu (Continued)
TG8000 Multiformat Test Signal Generator User Manual 3–203

Table of Contents

Other manuals for Tektronix TG8000

Related product manuals