Home
THRUSH
Aircrafts
S2R – G10
Page 195
THRUSH S2R – G10 - Page 195
209 pages
Manual
Save Page as PDF
To Next Page
To Next Page
To Previous Page
To Previous Page
Loading...
THRUSH AIRCRAFT, I
NC - MODEL S2R-G10
AIRCRAFT MAINTENANCE MANUAL
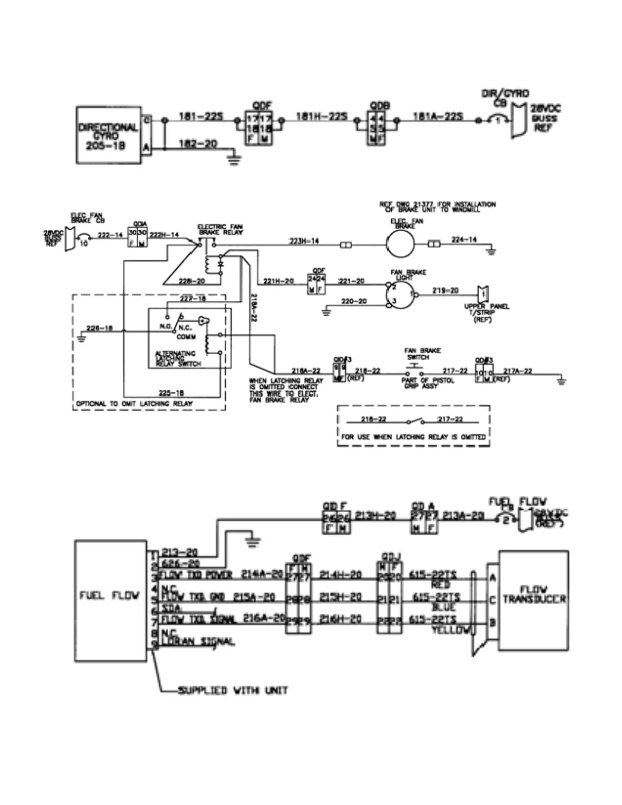
Figure 10-30: Direction
al Gy
ro System Wiring Diagram
Figure 10-31: Fan Br
ake
System Wiring Diagram
Figure 10-32: Fuel Fl
ow
Indicator Wiring Diagram
Page
Effective:
03/26/2010
10-20
194
196
Table of Contents
Main Page
Section 1 General Information
9
Default Chapter
1
Aircraft Maintenance
1
Table of Contents
9
General Description
10
Contact Information
10
Principal Dimensions
10
General
10
Weight & Balance
10
Wing
10
Horizontal Stabilizer and Elevators
11
Vertical Stabilizer and Rudder
11
Areas
11
Supplier Furnished Component Manuals
11
Aircraft Structure
12
Fuselage
12
Wing
12
Empennage
12
Cockpit
12
Aircraft Systems
13
Hydraulic System
13
Power Plant & Propeller
13
Fuel System
13
Landing Gear, Wheels & Brakes
14
Flight Controls
14
Instruments
14
Electrical System
14
Aircraft Weight & Balance
14
Figure 1-1: Aircraft 3-View
15
Figure 1-2: Aircraft Stations
16
Aircraft Maintenance Manual Section 2 Servicing & Inspection
18
Servicing & Inspection
20
Ground Handling
20
Towing
20
Taxiing
20
Parking
20
Mooring
20
Jacking
20
Leveling
20
Weighing
22
Calculated Weight
22
Weighing the Airplane
22
Cold Weather Operation
23
Cold Weather Maintenance Hints
23
Ground Emergency Procedures
24
Engine Fires
24
Electrical Fires
24
Ground Operation of Engine
24
Exterior Pre-Start Check
24
Pre-Start Checklist
24
Cockpit Pre-Start Check
24
Starting Engine
25
System and Component Servicing
26
Hydraulic System
26
Engine Oil System
26
Fuel System
27
Defueling
29
Landing Gear, Wheels & Brakes
29
MLG Shock Struts
29
Tires
29
Brake Bleeding
30
Inspection
30
Inspection Check List
30
General Instructions
30
A: Propeller
31
B: Engine Externals
32
C: Engine Oil System
33
G: Main Landing Gear
36
H: Hydraulic System
36
J: Tail Gear
36
K: Fuselage Skins
38
L: Hopper
38
M: Wings
38
N: Fuselage Frame
39
P: Control Systems
40
Q: Empennage
41
R: Ailerons and Flaps
41
S: Cockpit
42
T: Electrical System
43
Battery Maintenance
43
Airframe Maintenance
43
Corrosion Control
43
Windshield
45
Hopper Repair
45
Fuel Tank Repair
45
Lubrication
47
Aircraft Maintenance Manual Section 3 Hydraulics
56
Hydraulic System
57
General Description
57
Master Cylinder
57
Brake System Bleeding
59
Parking Brakes
61
Airplane Maintenance Manual Section 4 Power Plant and Propeller
62
Power Plant
63
Air Cleaning System
63
Engine Buildup
63
Oil Contamination
63
Engine Removal
63
Engine Installation
64
Propeller
65
Propeller Description and Operation
66
Propeller Removal
66
Mccauley
66
PROPELLER INSTALLATION - Mccauley
67
Propeller Adjustments - M Ccauley -Ref . Fig . 4-1
67
SPINNER INSTALLATION - Mccauley - Ref. Fig
69
Propeller Removal
69
Hartzell
69
Propeller Installation - Hartzell
70
Hartzell Adjustments
70
Spinner Installation - Hartzell
72
Propeller Balancing
72
Rigging Airframe Engine Controls
72
Rigging Instructions
73
Rigging Fuel Cutoff and Feather
74
Throttle Rigging
75
Speed Lever Rigging
76
Engine Rigging Checks and Adjustments
76
Emergency Cut off and Propeller Feather Check
77
Ground Idle Adjustments
77
The Torque System
77
Description and Operation
77
Calibration of Torque Indicating System
77
Section 5 Fuel System
80
General Description
81
Maintenance Precautions
81
Fuel Sub-Systems and Components
83
Fuel Tank Vent System
83
Fuel Quantity Indicator
83
Fuel Quantity Transmitter
83
Removal
83
Fuel Quantity Indicating System Calibration
84
Installation
84
Auxiliary Fuel Pump
86
Auxiliary Fuel Pump Installation
86
Auxiliary Fuel Pump Removal
86
Fuel Strainer
86
Fuel Strainer Service Instructions
87
Fuel System Maintenance and Repair
87
Use of Fuel Proof Sealants
87
Leak Sealing
89
Resealing after Complete Skin Removal
90
Fuel Tank Pressure Check
90
Required Equipment
90
Fuel Tank Set-Up
90
Pressure Check Set-Up
90
Pressure Check Procedure
91
Fuel System Troubleshooting
92
Activating Hopper (Ferry) Fuel System
95
Operating Instructions for the P/N 60167 Ferry Fuel System
95
Section 6 Landing Gear, Wheels & Brakes
98
Main Landing Gear
99
Landing Gear, Wheels & Brakes
99
Main Landing Gear Assembly
99
Cleaning, Inspection and Repair of Main Gear
99
Cleaning, Inspection and Repair of Shock Struts
99
Removal
99
Main Wheels and Brakes
100
General Description
100
Main Wheel Removal and Disassembly
100
Inspection of Main Wheel Assembly
102
Main Wheel Reassembly and Installation
103
Brake Removal and Disassembly
104
Brake Servicing
105
Measuring Brake Lining Wear
105
Removal of Brake Linings from Calipers
105
Replacement of Organic Linings
105
Brake Lining Conditioning Procedures
107
Non-Asbestos Organic Linings
107
Reassembly of Organic Linings to Caliper
107
Brake Reassembly and Installation
108
Disassembly and Repair
108
Removal of Brake Master Cylinders
108
Brake Bleeding
109
Master Cylinder Installation
109
General Description
99
Tail Landing Gear
109
Tail Gear Removal
109
Cleaning, Inspection and Repair of Tail Landing Gear
109
Tail Landing Gear Installation
110
Disassembly of Spindle Housing Assembly
111
TAIL Landing GEAR RIGGING
111
Cleaning, Inspection and Repair of Tail Gear Spindle Housing Assembly
112
Inspection of Tail Landing Gear Wheel Assembly
112
TAIL Gear WHEEL and Tire REMOVAL and DISASSEMBLY
112
TAIL Landing Gear WHEEL & Tire REASSEMBLY and INSTALLATION
113
Wheel and Brake Troubleshooting
115
Section 7 Flight Controls
118
General Description
120
General Maintenance of Flight Controls
120
Aileron Control Linkage
121
Aileron Rigging
123
Aileron Servo Tabs
124
Aileron
124
Flap Jackscrew Removal
125
Flap Removal
126
Flap Installation
126
Flap Rigging
126
Aileron Control System
121
Control Stick
121
Control Stick, Fork and Torque Tube Removal
121
Control Stick, Fork and Torque Tube Installation
121
Rudder
127
Rudder Removal
127
Rudder Installation
127
Rudder Pedal Removal
127
Control Cables Removal
127
Rudder Control Cables Installation
128
Rudder Rigging
129
Rudder Trim Tab
129
Balance Cable Rigging
129
Elevators
129
Elevator down Spring
129
Elevator Removal
129
Elevator Installation
129
Elevator Rigging
130
Elevator Trim Tabs
131
Elevator Trim Tab Removal
131
Elevator Trim Tab Rigging
132
Empennage
132
Empennage Removal
132
Empennage Installation
132
Horizontal Stabilizer
132
Vertical Stabilizer
134
Wings
135
Wing Removal
135
Wing Installation
136
Aileron System
144
Flap System
144
Rudder System
145
ELEVATOR SYSTEM (Continued)
145
Elevator Trim System
146
Flight Control Static Balance Limits
147
For Example, 29" X 3.45# = 100 #" (55.2 Oz/16 = 3.45#)
147
For Example, 16" X 3.31# = 53 #" (53 Oz/16 = 3.31#)
147
For Example, 21.1" X 1.96# = 41.4 #" (31.4 Oz/16 = 1.96#)
147
Section 8 Instruments
150
Instruments
151
General Description
151
Instrument System Maintenance
151
Flight Instruments
151
Maintenance
151
Pitot-Static System
151
Inspection and Leakage Test
152
Airspeed Indicator
154
Altimeter
154
Magnetic Compass
154
Magnetic Compass Compensation
155
Turn Coordinator
156
Power Plant Instruments
156
Fuel Pressure System
156
Oil Pressure System
156
Oil Temperature System
156
Engine Tachometer System
157
ENGINE Torque SYSTEM
157
Exhaust Gase Temperature System
157
Miscellaneous Instruments
159
Ammeter
159
Fuel Quantity Indicator
159
HOPPER QUANTITY (Optional Equip.)
159
Voltmeter
159
Calibration of Hopper Quantity Gauge
160
Instrument Troubleshooting
161
Airspeed Indicator
162
Altimeter
162
Engine Oil Pressure Gauge
163
Magnetic Compass
163
Engine Fuel Pressure Gauge
164
Tachometer
164
Engine Oil Temperature Gauge
165
Fuel Quantity Indicator
165
Section 9 Dispersal Systems
168
Dispersal Systems
169
Effective: 03/26/2010
169
General Description
169
Hopper
169
Hopper Care
169
Hopper Repair
169
Hopper Gate Box Removal
171
Hopper Gate Box Installation
171
Spray Dispersal System
172
Dispersal System Maintenance
172
Agitator and Spreader
174
Section 10 Electrical System
176
Power Distribution
178
Battery and External Power
178
Battery Servicing
178
Servicing Battery Installed in Aircraft
179
Generator System
179
Diagrams
179
Battery Operation
179
Battery Removal
179
Battery Installation
180
Voltage Regulation
180
Voltage Regulator Removal
180
Voltage Regulator Installation
180
Starter Generator Maintenance
180
Starter - Generator Removal
180
Starter-Generator Installation
180
Battery System
182
Starter/Generator - Generator System
183
Standard Equipment
185
Optional Equipment
193
Related product manuals
THRUSH S2R-H80
86 pages
THRUSH S2R-T34
36 pages