EasyManua.ls Logo

Valtra 6850 - Page 686

Valtra 6850
1361 pages
Print Icon
To Next Page IconTo Next Page
To Next Page IconTo Next Page
To Previous Page IconTo Previous Page
To Previous Page IconTo Previous Page
Loading...
637
Model Code Page
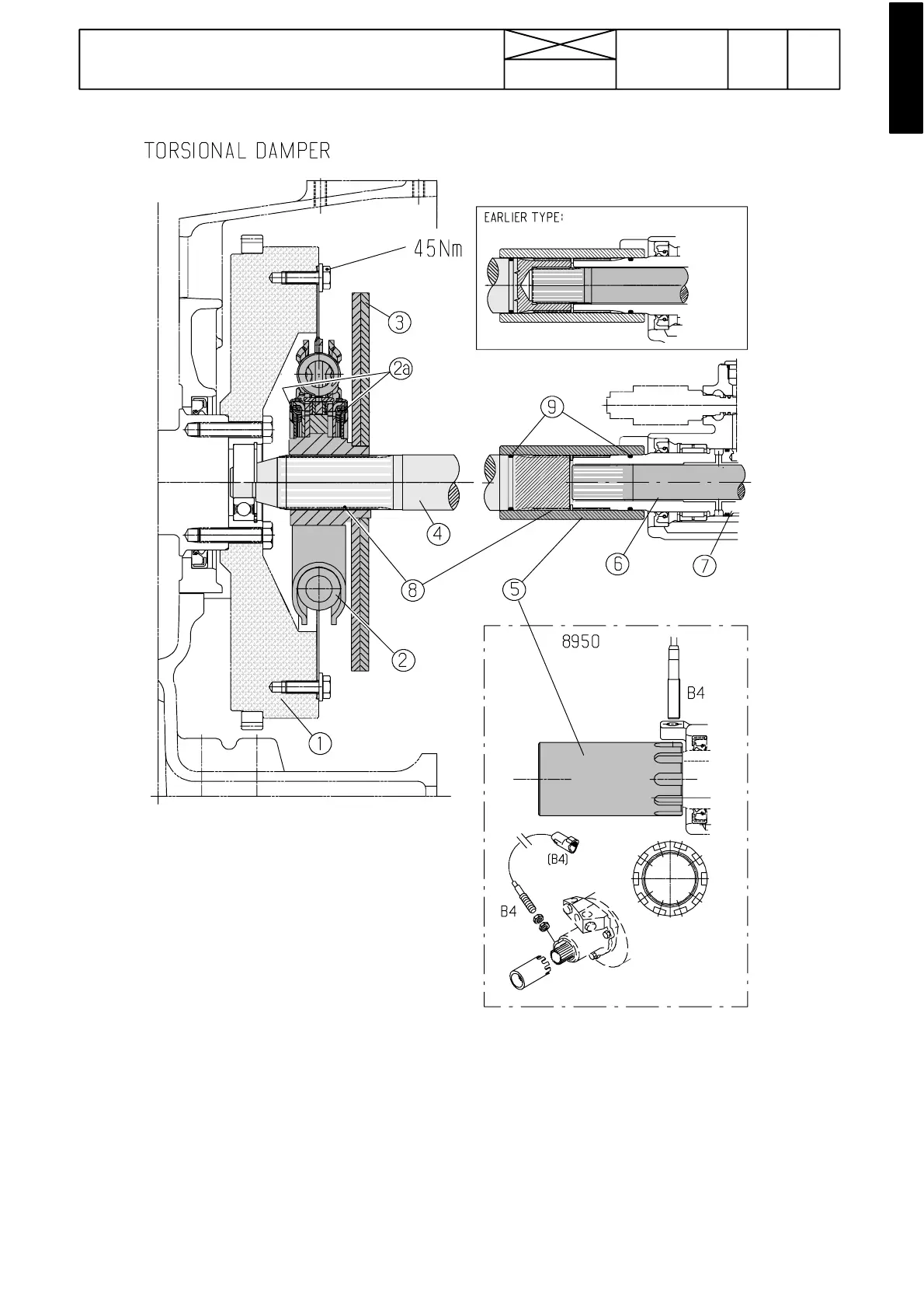
41. Clutch
1. 8. 2000
6250--8950 410 4A
1. 11. 1998
HiTech
Picture 2A . Drive disc on flywheel on HiTech tractors.
1. Fl ywheel (di fferent on HiTech tractors)
2. Disc damping springs
3. Plates which increase mass
4. Closed drive shaft (earlier a hollow clutch shafti)
5. Coupling sleeve between drive shaft ---DPS input shaft. Sealed with o ---rings.
6. Pump/PTO drive shaft
7. DPS input shaft
8. EP grease on splines
9 . O --- r i n g s
B4: SigmaPower sensor.

Table of Contents

Related product manuals