EasyManua.ls Logo

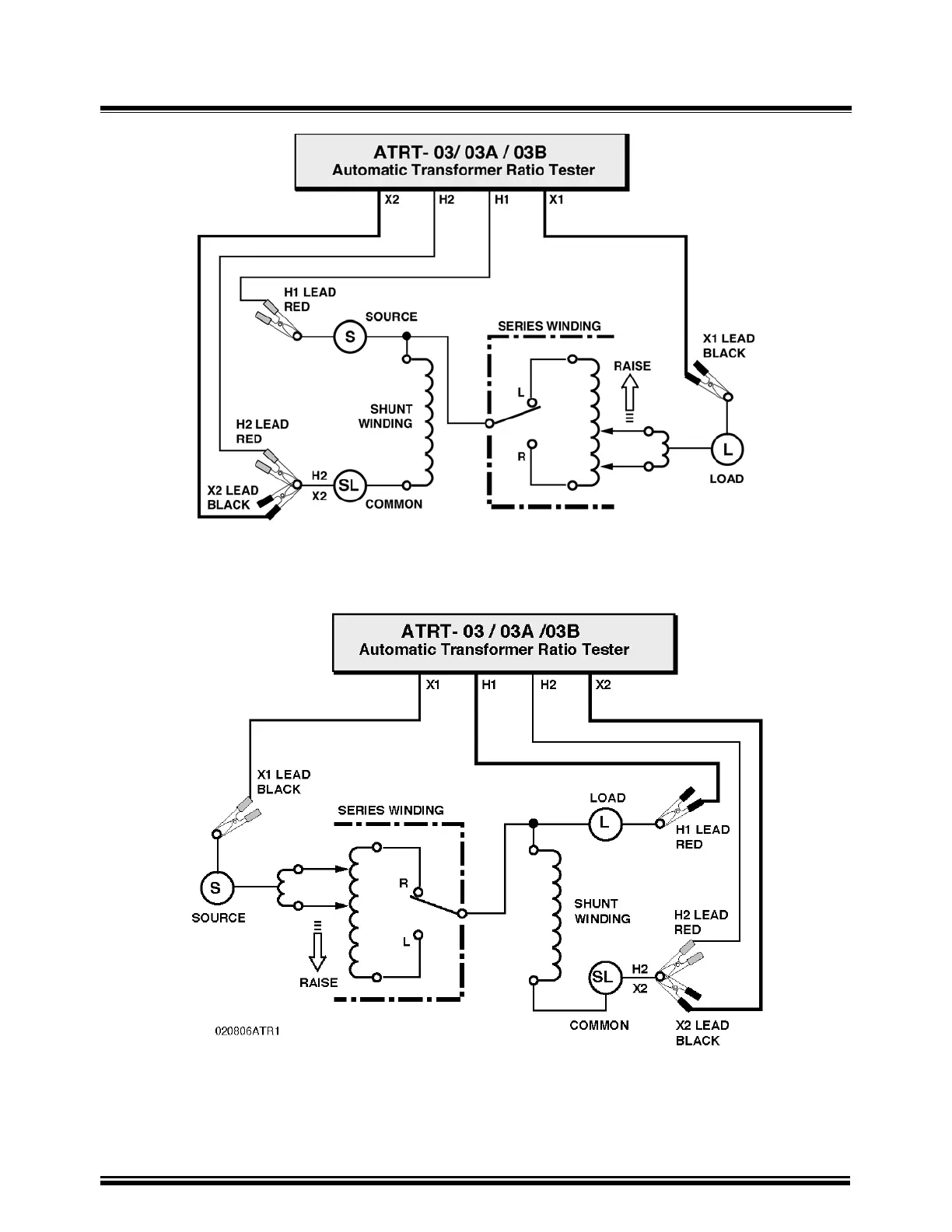
Vanguard Instruments ATRT-03 - Figure 13 C. Typical Connection for Type a Voltage Regulator; Figure 13 D. Typical Connection for Type B Voltage Regulator

Vanguard Instruments ATRT-03
93 pages
Print Icon
To Next Page IconTo Next Page
To Next Page IconTo Next Page
To Previous Page IconTo Previous Page
To Previous Page IconTo Previous Page
Loading...
Model ATRT-03 (v) Operating Instruction
20
Figure 13C. Typical Connection for Type A Voltage Regulator
Figure 13D. Typical Connection for Type B Voltage Regulator

Table of Contents

Related product manuals