EasyManua.ls Logo

Yamaha EF7000 - Page 73

Yamaha EF7000
178 pages
Print Icon
To Next Page IconTo Next Page
To Next Page IconTo Next Page
To Previous Page IconTo Previous Page
To Previous Page IconTo Previous Page
Loading...
4-6
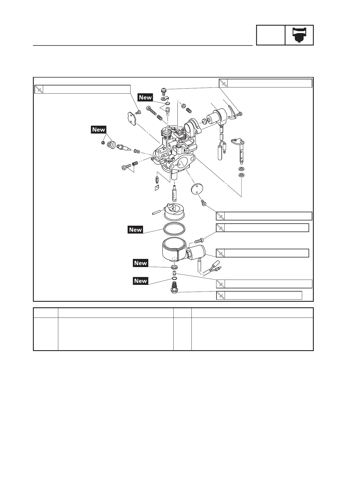
CARB
DISASSEMBLING THE CARBURETOR
2.5 Nm (0.25 m · kgf, 1.8 ft · lbf)
1.0 Nm (0.10 m · kgf, 0.72 ft · lbf)
4.0 Nm (0.40 m · kgf, 2.9 ft · lbf)
7 Nm (0.7 m · kgf, 5.1 ft · lbf)
0.7 Nm (0.07 m · kgf, 0.51 ft · lbf)
3.5 Nm (0.35 m · kgf, 2.5 ft · lbf)
0.7 Nm (0.07 m · kgf, 0.51 ft · lbf)
r
y
t
u
Order Job/Parts to remove Q’ty Remarks
r
Throttle screw/Spring 1/1
t
Pilot jet/O-ring 1/1
y
Plate 1
u
Choke solenoid assembly 1

Table of Contents

Related product manuals