EasyManua.ls Logo

Yamaha F90D - Checking the Valve Guides; Replacing the Valve Guides

Yamaha F90D
241 pages
Print Icon
To Next Page IconTo Next Page
To Next Page IconTo Next Page
To Previous Page IconTo Previous Page
To Previous Page IconTo Previous Page
Loading...
6D81G11
5-28
1
2
3
4
5
6
7
8
9
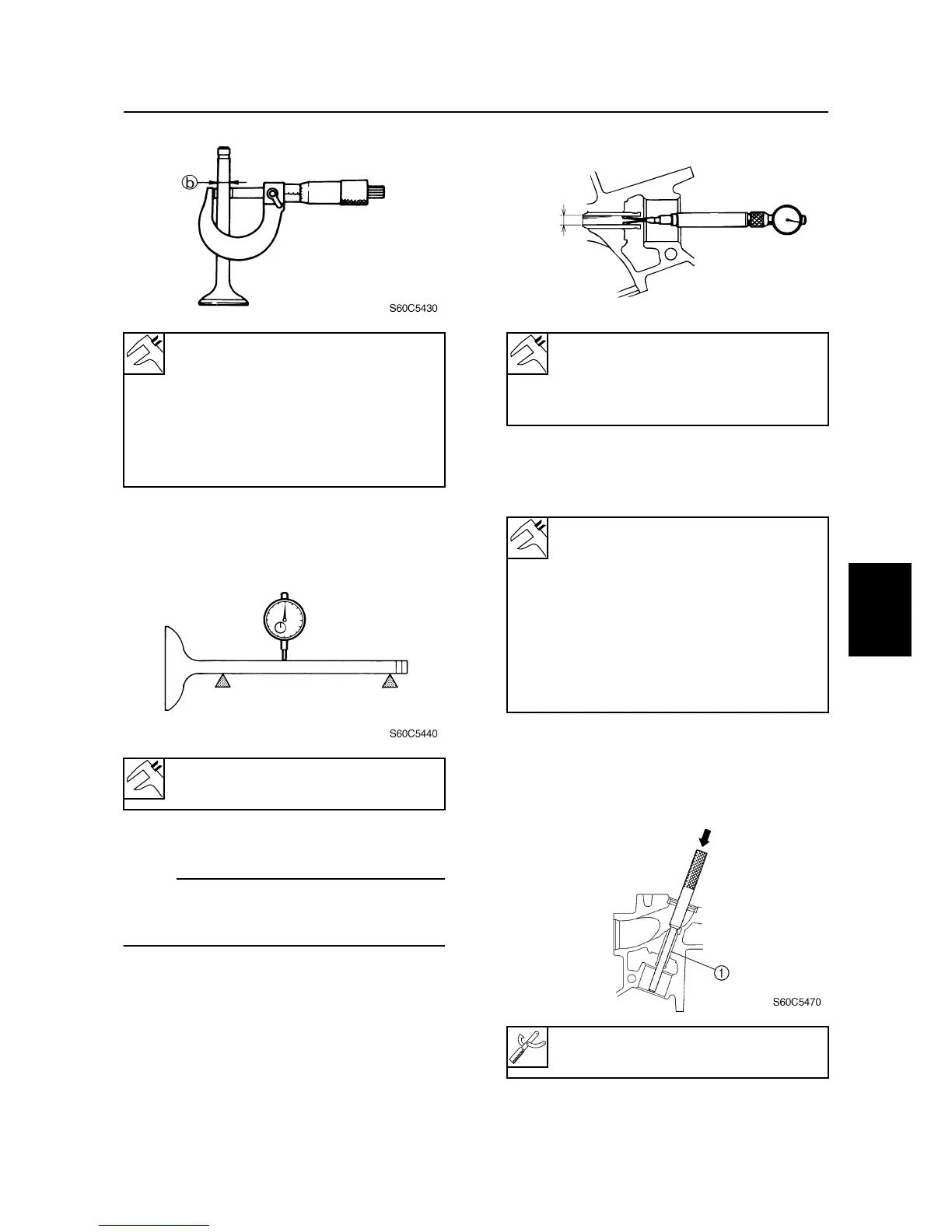
4. Measure the valve stem runout. Replace
if above specification.
Checking the valve guides
NOTE:
Before checking the valve guide make sure
that the valve stem diameter is within specifi-
cation.
1. Measure the valve guide inside diameter
a
.
2. Calculate the valve stem-to-valve guide
clearance as follows. Replace the valve
guide if out of specification.
Replacing the valve guides
1. Remove the valve guide
1
by striking
the special service tool from the combus-
tion chamber side.
Valve stem diameter
b
:
Intake:
5.9755.990 mm
(0.23520.2358 in)
Exhaust:
5.9605.975 mm
(0.23460.2352 in)
Valve stem runout limit:
0.01 mm (0.0004 in)
Valve guide inside diameter
a
:
Intake and exhaust:
6.0006.018 mm
(0.23620.2369 in)
Valve stem-to-valve guide clearance
= valve guide inside diameter valve
stem diameter:
Intake:
0.0100.043 mm
(0.00040.0017 in)
Exhaust:
0.0250.058 mm
(0.00100.0023 in)
Valve guide remover/installer:
YM-04064-A
S60C5450
a
Cylinder head

Table of Contents

Related product manuals