EasyManua.ls Logo

Yamaha F90D - Steering Arm

Yamaha F90D
241 pages
Print Icon
To Next Page IconTo Next Page
To Next Page IconTo Next Page
To Previous Page IconTo Previous Page
To Previous Page IconTo Previous Page
Loading...
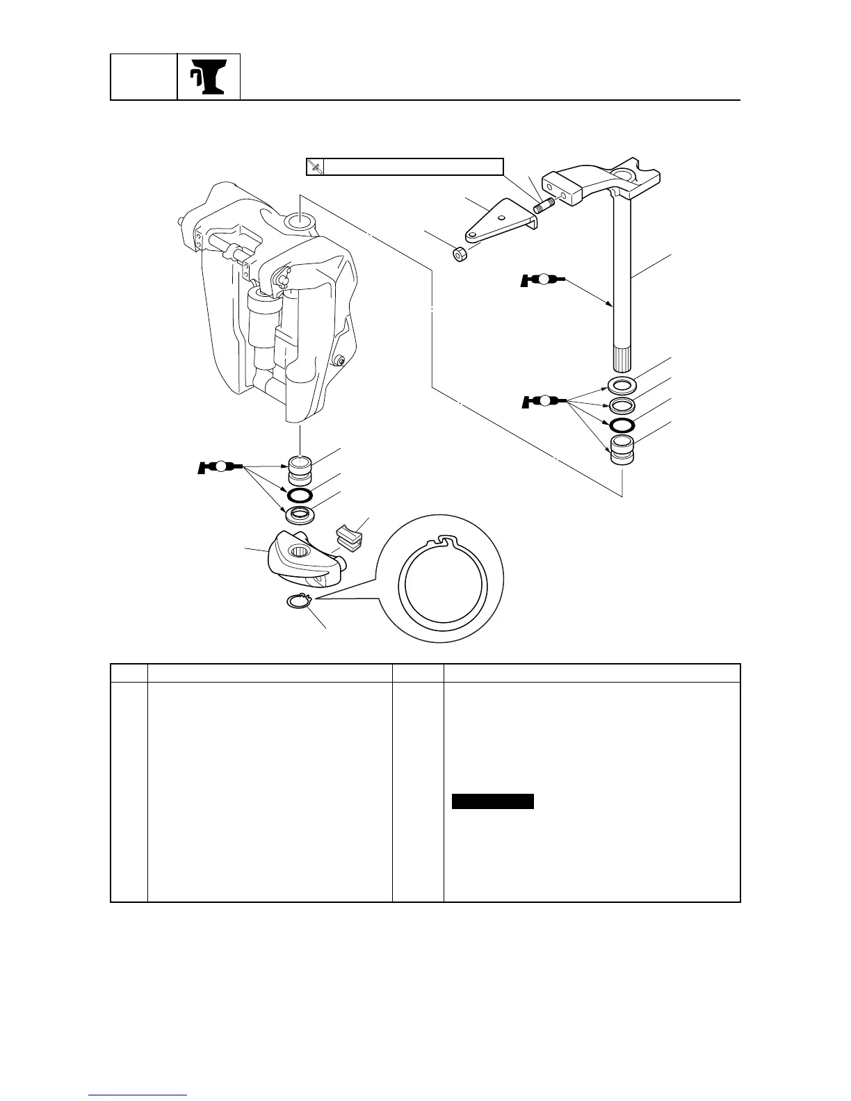
BRKT
Bracket unit
7-17
6D81G11
Steering arm
7
No. Part name Qty Remarks
1Nut 2
2 Steering hook 1
3 Stud bolt 2 M10
×
40 mm
4 Steering arm 1
5 Washer 1
6 Bushing 1
7O-ring 2
Not reusable
8 Bushing 2
9 Washer 1
10 Steering yoke 1
11 Damper 1
12 Circlip 1
A
A
A
11
7
6
5
4
8
12
10
9
7
8
1
2
3
T
R
.
.
20 N
·
m (2.0 kgf
·
m, 14.8 ft
·
Ib)
S6D87220

Table of Contents

Related product manuals