EasyManua.ls Logo

Yamaha F90D - Vapor Separator

Yamaha F90D
241 pages
Print Icon
To Next Page IconTo Next Page
To Next Page IconTo Next Page
To Previous Page IconTo Previous Page
To Previous Page IconTo Previous Page
Loading...
6D81G11
4-12
1
2
3
4
5
6
7
8
9
4
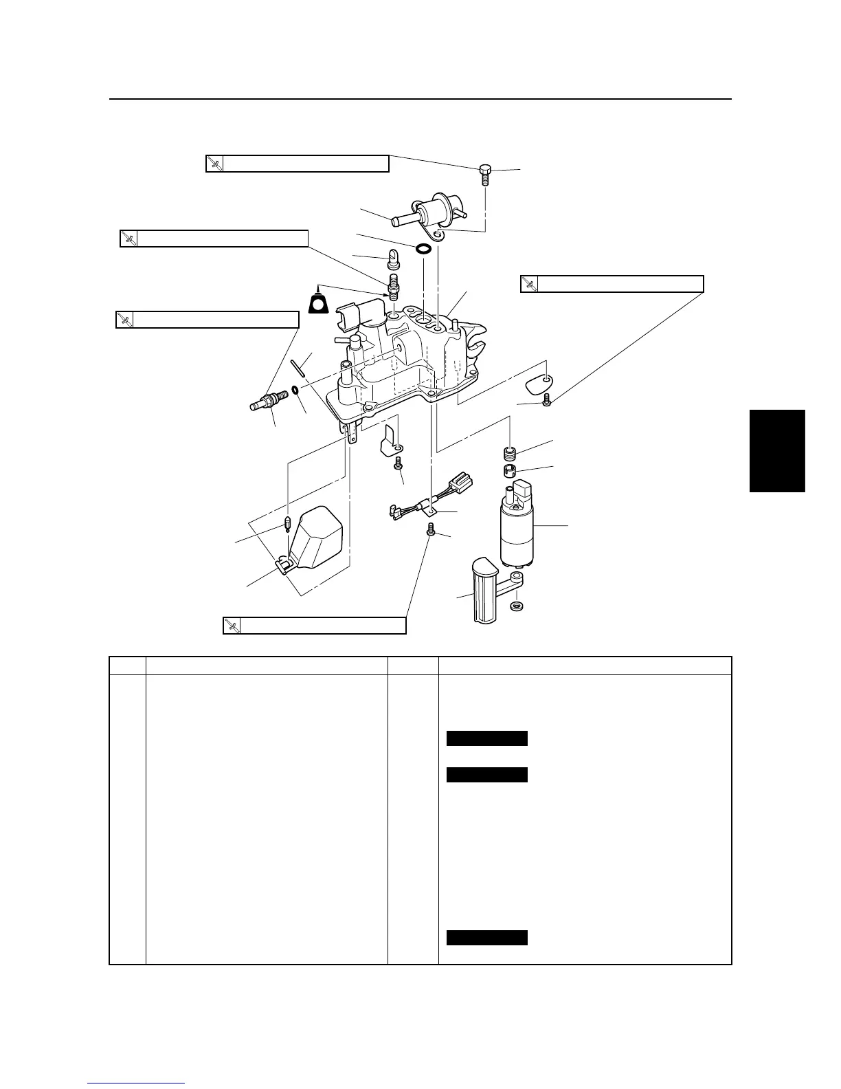
No. Part name Qty Remarks
1 Cover 1
2 Pressure regulator 1
3Bolt 2 M6
×
12 mm
4O-ring 1
Not reusable
5 Joint screw 1
6O-ring 1
Not reusable
7 Electric fuel pump 1
8Grommet 1
9 Collar 1
10 Filter 1
11 Screw 3 ø4
×
6 mm
12 Wiring harness 1
13 Float 1
14 Needle valve 1
15 Pin 1
Not reusable
16 Cap 1
S6D84090
3
1
7
9
8
2
4
6
15
11
11
11
10
13
14
12
5
16
T
R
.
.
2 N
·
m (0.2 kgf
·
m, 1.5 ft
·
Ib)
T
R
.
.
2 N
·
m (0.2 kgf
·
m, 1.5 ft
·
Ib)
T
R
.
.
4 N
·
m (0.4 kgf
·
m, 3.0 ft
·
Ib)
T
R
.
.
10 N
·
m (1.0 kgf
·
m, 7.4 ft
·
Ib)
T
R
.
.
5 N
·
m (0.5 kgf
·
m, 3.7 ft
·
Ib)
LT
271
Vapor separator

Table of Contents

Related product manuals