EasyManua.ls Logo

Yamaha F90D - Power Trim and Tilt Unit

Yamaha F90D
241 pages
Print Icon
To Next Page IconTo Next Page
To Next Page IconTo Next Page
To Previous Page IconTo Previous Page
To Previous Page IconTo Previous Page
Loading...
BRKT
Bracket unit
7-23
6D81G11
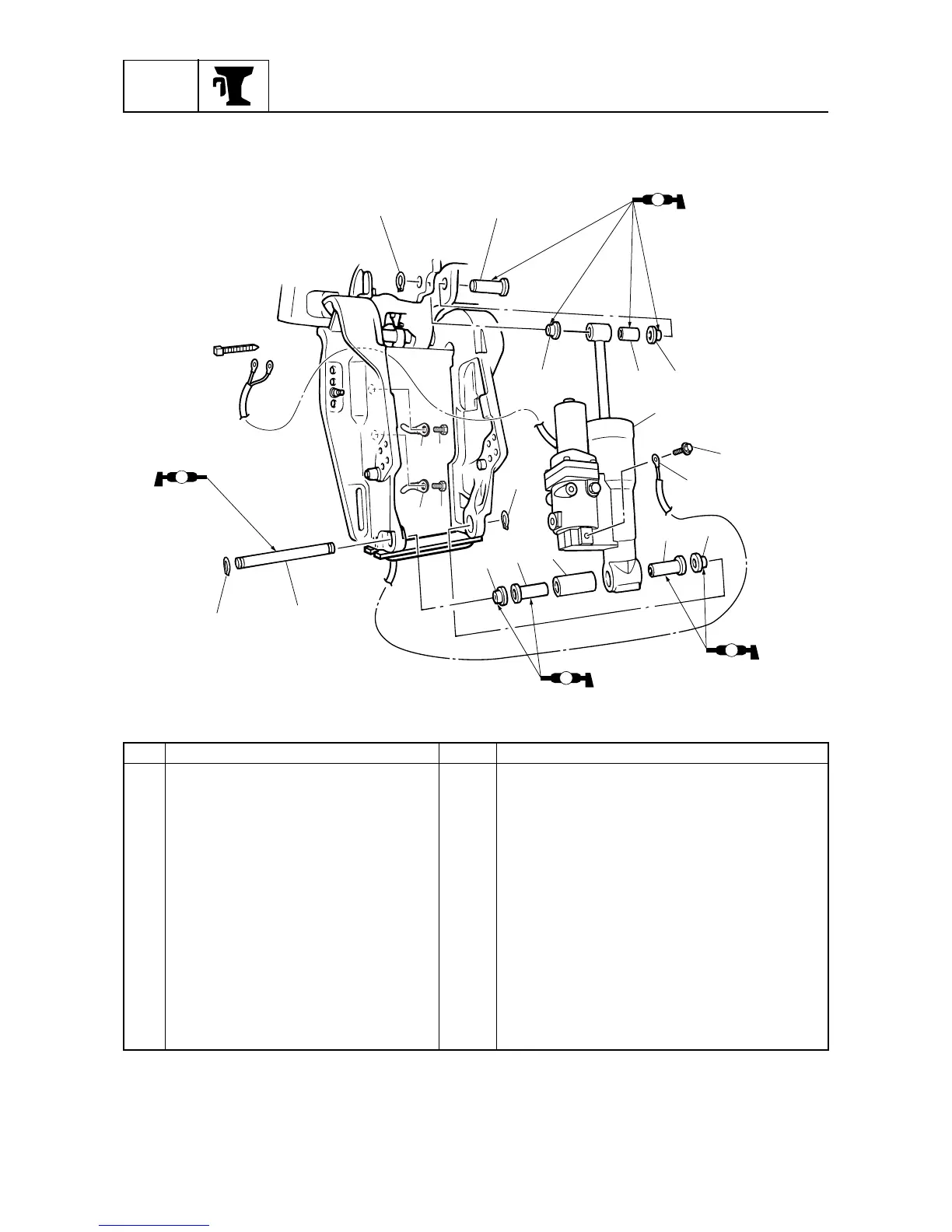
Power trim and tilt unit
7
No. Part name Qty Remarks
1 Power trim and tilt unit 1
2 Circlip 1
3Shaft 1
4 Circlip 2
5Shaft 1
6 Bushing 2
7 Bushing 1
8 Ground lead 1
9Bolt 1 M6
×
10 mm
10 Bushing 2
11 Bushing 2
12 Collar 1
13 Holder 2
14 Bolt 2 M6
×
10 mm
S6D87270
2
3
6
5
4
7
6
1
8
9
10
11
11
4
10
12
13
14
13
14
AA
AA
AA
AA

Table of Contents

Related product manuals