EasyManua.ls Logo

AuCom EMX4i - Page 52

AuCom EMX4i
126 pages
Print Icon
To Next Page IconTo Next Page
To Next Page IconTo Next Page
To Previous Page IconTo Previous Page
To Previous Page IconTo Previous Page
Loading...
OPERATION
710-14888-00C EMX4i User Manual 51
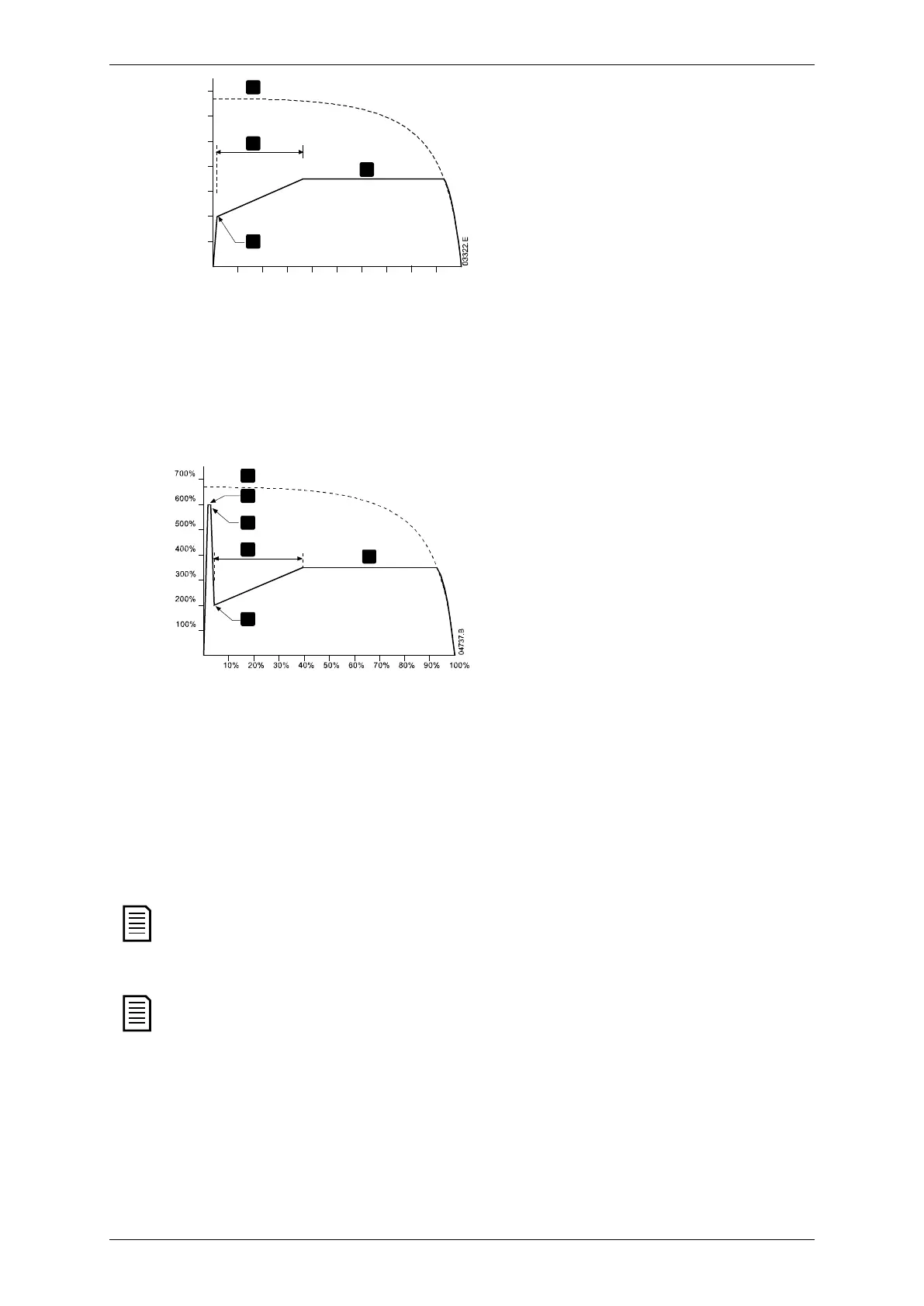
Current
(%motor full load current)
700%
600%
500%
300%
100%
400%
200%
1
4
3
2
1:
Initial Current
(parameter 2C)
2:
Start Ramp Time
(parameter 2B)
3:
Current Limit
(parameter 2D)
4: Full voltage current
Time
Constant Current with Kickstart
Kickstart provides a short boost of extra torque at the beginning of a start, and can
be used in conjunction with current ramp or constant current starting.
Kickstart can be useful to help start loads that require high breakaway torque but
then accelerate easily (for example helical rotor pumps).
Current
(%motor full load current)
1
2
6
4
5
3
1:
Kickstart Level
(parameter 2G)
2:
Kickstart Time
(parameter 2F)
3:
Initial Current
(parameter 2C)
4:
Start Ramp Time
(parameter 2B)
5:
Current Limit
(parameter 2D)
6: Full voltage current
Rotor speed (% full speed)
Timed Voltage Ramp
Timed voltage ramp (TVR) soft starting ramps the application of voltage to the
motor over a defined time period. The voltage ramp reduces the initial starting
torque and slows the motor's rate of acceleration.
TVR starting can be useful for applications where multiple motors of different sizes
are connected in parallel, and/or the loads are not mechanically linked.
NOTE
TVR soft starting is not suitable for high inertia loads (such as fans), which
require a high level of voltage to accelerate the load.
NOTE
For multiple motors of the same sizes, and/or mechanically coupled loads,
use constant current starting.
For a timed voltage ramp start, the following are typical values and can be adjusted
to suit your specific application:
Add the FLC value of all the connected motors. Use this combined value
to set parameter 1B
Motor Full Load Current
. (Note that the combined
value must not exceed the starter rating.)

Table of Contents

Related product manuals