EasyManua.ls Logo

BENDIXKing KSN 8 Series - Page 162

BENDIXKing KSN 8 Series
228 pages
Print Icon
To Next Page IconTo Next Page
To Next Page IconTo Next Page
To Previous Page IconTo Previous Page
To Previous Page IconTo Previous Page
Loading...
89000046-014 KSN 780/8XX/900 AeroNav AML STC Installation Manual for Helicopters
Rev 0 Page D-14
© Honeywell International Inc. Do not copy without express permission of Honeywell.
AERONAV XXX
GPS ARINC 429 IN 1 A
GPS ARINC 429 IN 1 B
ANNUNCIATE D
ANNUNCIATE E
GPS ARINC 429 IN 1 A
GPS ARINC 429 IN 1 B
ANNUNCIATE D
ANNUNCIATE E
GPS ARINC 429 IN 1 A
GPS ARINC 429 IN 1 B
ANNUNCIATE D
ANNUNCIATE E
GPS RS-232 OUT 2
GPS RS-232 IN 2
GPS ARINC 429 IN 2A
GPS ARINC 429 IN 2B
GPS ARINC 429 OUT A
GPS ARINC 429 OUT B
ANNUNCIATE E
ANNUNCIATE D
TAWS AUDIO ACTIVE OUT
AERONAV XXX
AERONAV XXX
AERONAV XXX
CDU 429 A TX
CDU 429 B TX
TAS TEST IN
TAS STBY
429 TX 1A
429 TX 1B
SOFT KEY 1 (TEST/ALT)
SOFT KET 4 (OPR/STB)
POWER SWITCH HI
POWER SWITCH LO
429 TX 1A
429 TX 1B
DISPLAY GROUND
SOFT KEY 1 (TEST/ALT)
SOFT KET 4 (OPR/STB)
POWER SWITCH HI
POWER SWITCH LO
RS-232 RX 2
RS-232 TX 2
RS-232 GROUND 2
REMOTE MUTE
TRAFFIC ANNUNCIATE OUT
SWITCH
ARINC 429 OUT 1A
ARINC 429 OUT 1B
ARINC 429 IN 1A
ARINC 429 IN 1B
TRAFFIC OPERATE/STANDBY
SELF TEST SE LECT
TAWS AUDIO ACTIVE OUT
Bendix/King
KTA 870/KMH 880
KTA 970/KMH 980
L3 Communications
SKY 497
SOFTWARE V1.6 OR HIGHER
L3 Communications
SKY 899
Ryan 9900B/BX
TAS6XX
TCAD Processor
3
3
P1001
48
49
10
11
48
49
10
11
48
49
10
11
58
59
50
51
46
47
11
10
15
P1001
P1001
P1001
54
55
2
23
34
33
85
82
11
3
42
43
10
19
21
4
5
19
17
18
5
6
16
14
15
16
17
P10
P1
P1
P1
TO OPTIONAL LAMP OR SONALERT
OPTIONAL REMOTE
MUTE SWITCH
4
9
9
9
9
GTS 8XX
AERONAV XXX
P1001
P8001
2
2
2
10
11
11
12
7
P8002
75
74
11
P1050
13
13
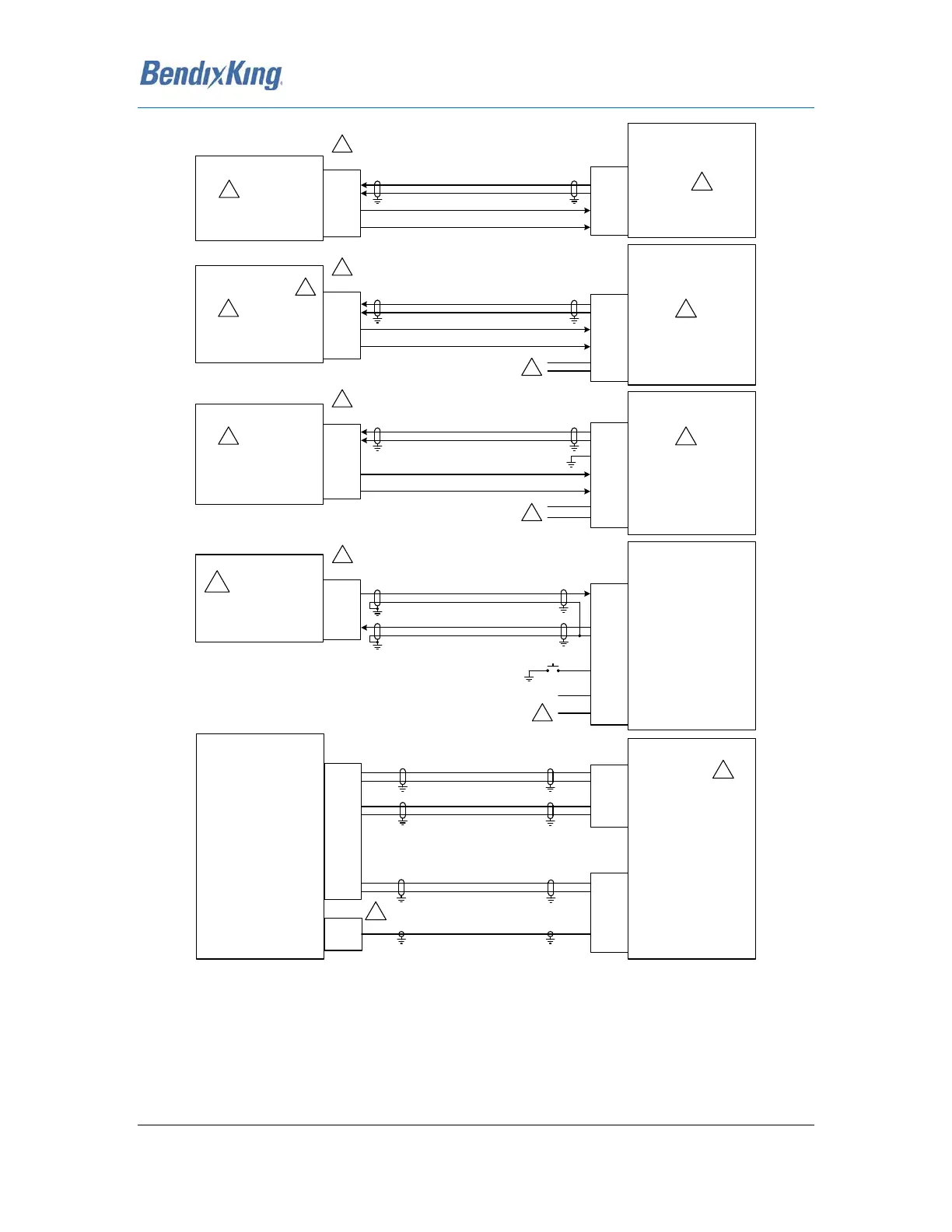
Figure D - 9: Traffic Advisory Interconnect
Page 1 of 2

Table of Contents

Related product manuals