EasyManua.ls Logo

Bizerba eS10 - Troubleshooting; Service Contact and Procedures

Bizerba eS10
103 pages
Print Icon
To Next Page IconTo Next Page
To Next Page IconTo Next Page
To Previous Page IconTo Previous Page
To Previous Page IconTo Previous Page
Loading...
Examples of operating procedures Operating instructions eS10
90 38034911005 en
10
Remove (last) item x from carton.
Recording of (last) item x with data out-
put to PC/EDP or printer.
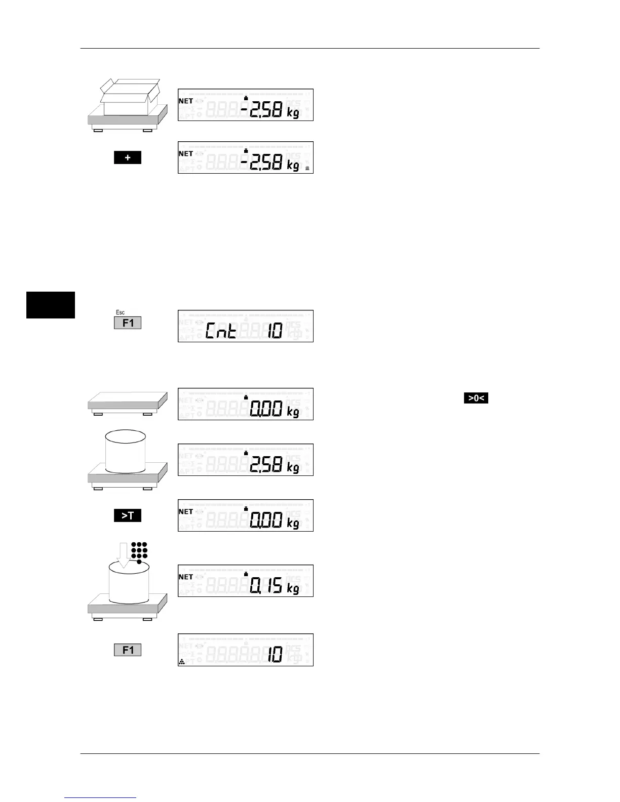
10.2 Counting, recording, totaling
Recording of single weight/number of pieces and total quantity/number of pieces with data
output to PC/EDP or a printer.
Added weighing counting, recording, totaling
Parameter settings
Counting function with reference number
10
Operating procedures
Scale is unloaded, set to 0 and total
memory is deleted.
Place carton on scale.
Tare scale to 0.
Fill 10 reference parts into carton.
Start counting with calculation of refer-
ence weight.
Number of pieces = reference number

Table of Contents

Related product manuals