EasyManua.ls Logo

Boschert CU - PROFI - Tool Box

Boschert CU - PROFI
139 pages
Print Icon
To Next Page IconTo Next Page
To Next Page IconTo Next Page
To Previous Page IconTo Previous Page
To Previous Page IconTo Previous Page
Loading...
BOSCHERT
111
Tel.: + 49 / 07621 / 95 93 0
Fax: + 49 / 07621 / 55 184
infoak@boschert.de
www.boschert.de
Mattenstrasse 1
79541 Lörrach-Hauingen
Version: 05 / 2011Changes reserved
Drawings and lists
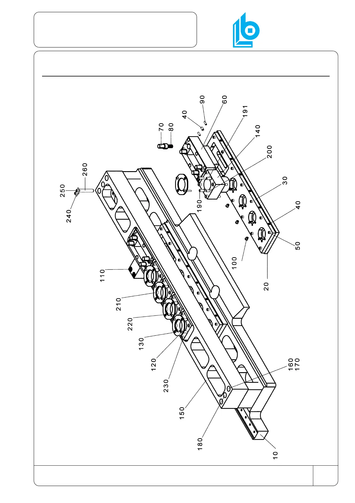
11.5 Tool box
Subassembly no.: 614 03021

Table of Contents

Related product manuals