EasyManua.ls Logo

Boschert CU - PROFI - Subassembly Clamp

Boschert CU - PROFI
139 pages
Print Icon
To Next Page IconTo Next Page
To Next Page IconTo Next Page
To Previous Page IconTo Previous Page
To Previous Page IconTo Previous Page
Loading...
BOSCHERT
130
Tel.: + 49 / 07621 / 95 93 0
Fax: + 49 / 07621 / 55 184
infoak@boschert.de
www.boschert.de
Mattenstrasse 1
79541 Lörrach-Hauingen
Version: 05 / 2011Changes reserved
Drawings and lists
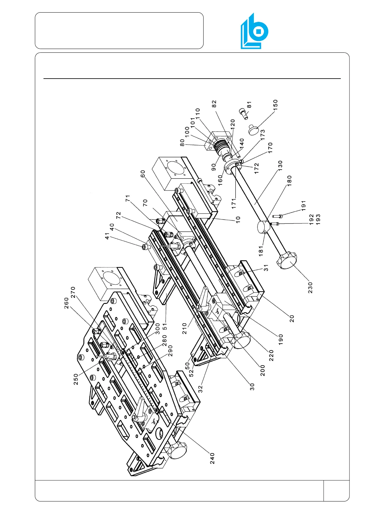
11.11 Subassembly Clamp
Subassembly no.: 614 05036

Table of Contents

Related product manuals