EasyManua.ls Logo

Braillo 650 SF - Page 14

Default Icon
155 pages
Print Icon
To Next Page IconTo Next Page
To Next Page IconTo Next Page
To Previous Page IconTo Previous Page
To Previous Page IconTo Previous Page
Loading...
BRAILLO
l
B 650 SF
14
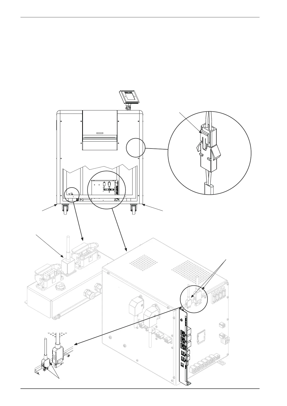
See the gure below for details.
- Disconnect the cable to the fans.
- Disconnect the two cables to the operating panel. Cut the cable ties (replace when reconnnecting).
- Disconnect the cable to the safety switches in the cover.
Unscrew the four screws (G) (use a 6 mm hex key) and very carefully lift the cover upwards.
The Printer can now be moved to the desired location.
Please observe that it is possible to lock the wheels to secure the Printer when it is positioned.
Fans
connector
Operator panel
connectors
G G
To release,
press on both sides
Cable for cover
safety switches
To release,
press here

Table of Contents