EasyManua.ls Logo

Brainboxes ED-549 - Block Diagrams

Brainboxes ED-549
100 pages
Print Icon
To Next Page IconTo Next Page
To Next Page IconTo Next Page
To Previous Page IconTo Previous Page
To Previous Page IconTo Previous Page
Loading...
Product Manual V1.3
© Copyright Brainboxes Ltd
Page 13 of 100
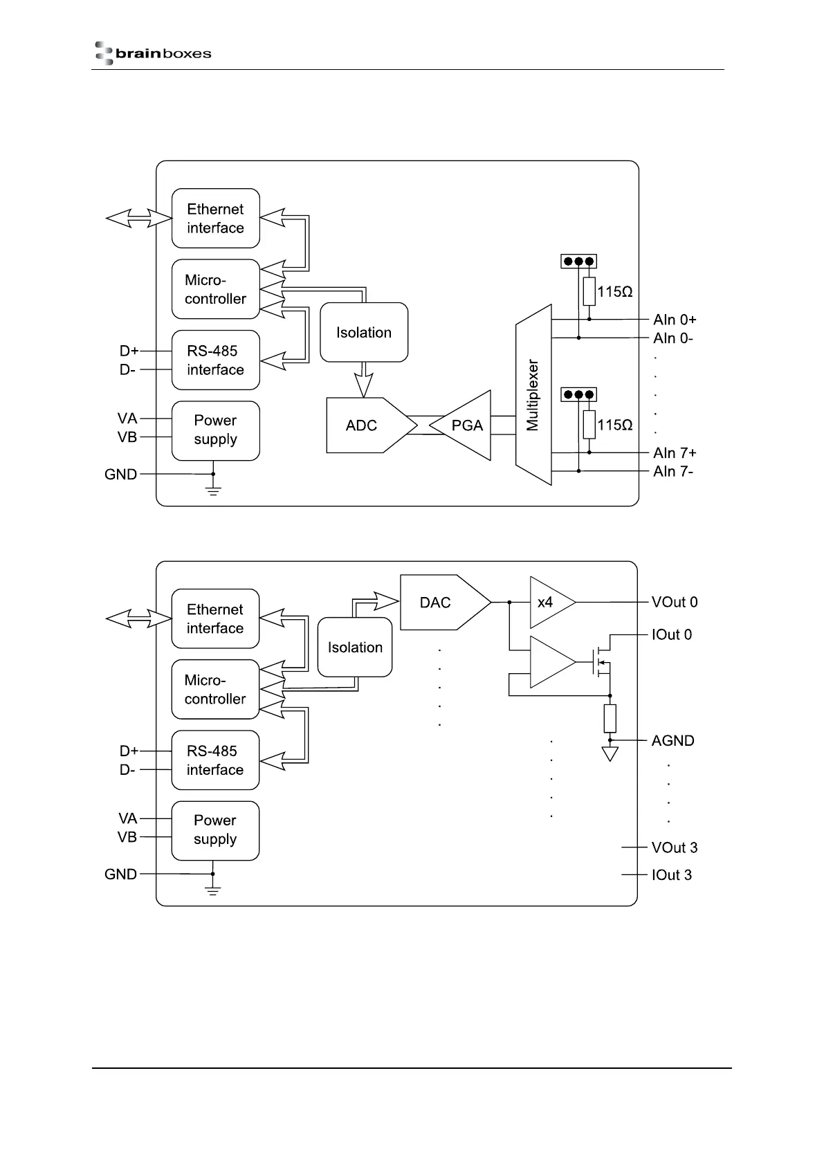
Block Diagrams
ED-549
ED-560

Table of Contents