EasyManua.ls Logo

Brainboxes ED-549 - Current-Sink Transducer Signal; Current-Source Transducer Signal

Brainboxes ED-549
100 pages
Print Icon
To Next Page IconTo Next Page
To Next Page IconTo Next Page
To Previous Page IconTo Previous Page
To Previous Page IconTo Previous Page
Loading...
Product Manual V1.3
© Copyright Brainboxes Ltd
Page 21 of 100
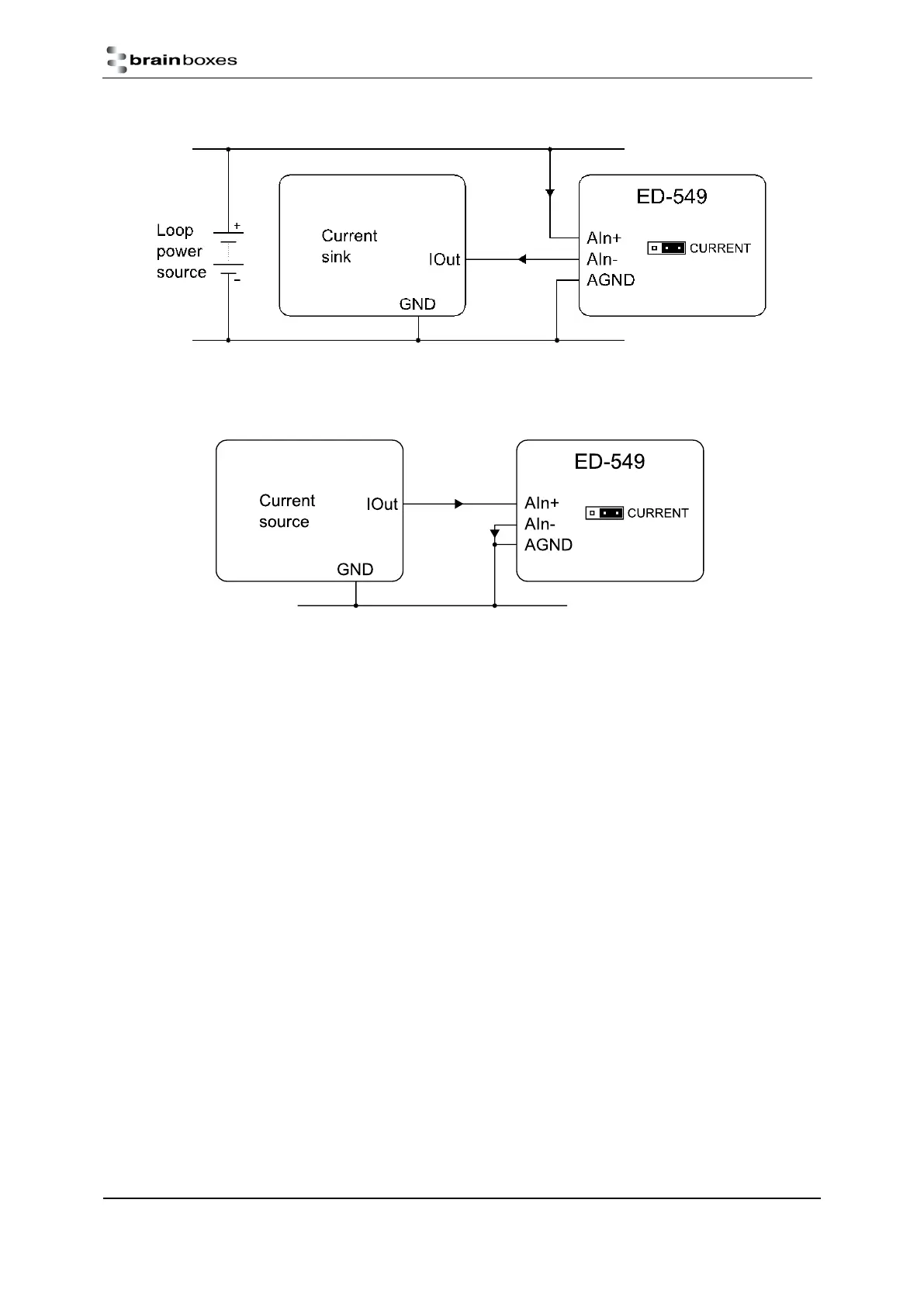
Current-sink transducer signal
Current-source transducer signal

Table of Contents