EasyManua.ls Logo

Brainboxes ED-549 - Connecting Analogue Signal Sources to the ED-549; Differential (Balanced) Voltage Signal; Single-Ended (Unbalanced) Voltage Signal; Current-Loop Transducer Signal

Brainboxes ED-549
100 pages
Print Icon
To Next Page IconTo Next Page
To Next Page IconTo Next Page
To Previous Page IconTo Previous Page
To Previous Page IconTo Previous Page
Loading...
Product Manual V1.3
© Copyright Brainboxes Ltd
Page 20 of 100
devices. To send the commands and receive responses a connection to the device needs to be set up.
This can be done using either a TCP connection or through the COM port.
Modbus TCP Protocol: Modbus TCP is a standard communication protocol which can also be used to
read and write configuration and analogue value data. It uses binary data instead of human-readable
ASCII text, and is supported by a wide range of PLCs and data acquisition software. Unlike the ASCII
protocol, it allows overlapping requests and connections from multiple controllers.
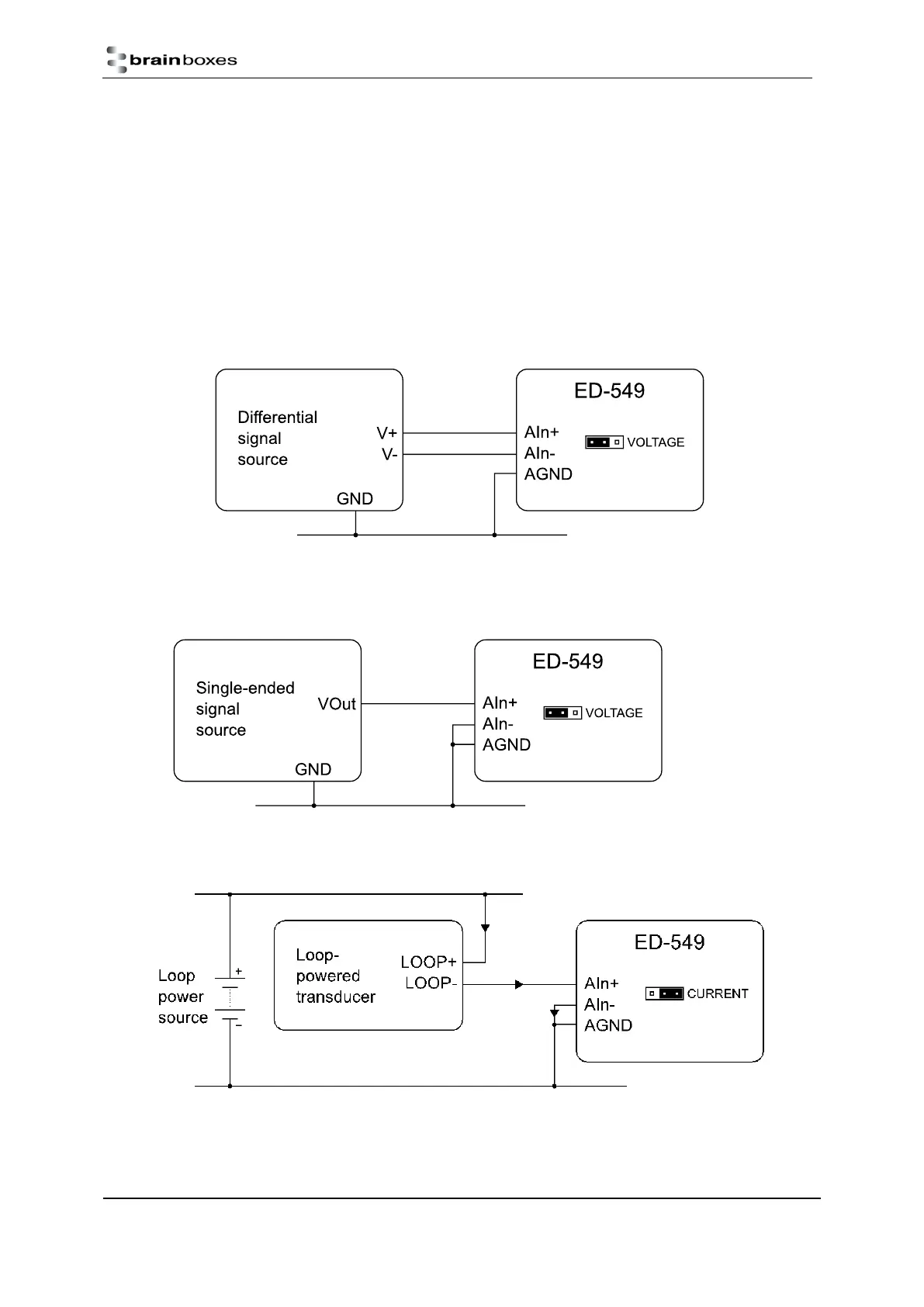
Connecting analogue signal sources to the ED-549
These are not the only ways in which the products may usefully be connected, but the diagrams below show
the most common configurations.
Differential (balanced) voltage signal
Single-ended (unbalanced) voltage signal
Current-loop transducer signal

Table of Contents