EasyManua.ls Logo

Brainboxes ED-549 - Connecting Analogue Devices to the ED-560; Single-Ended Voltage Signal; Current-Loop Signal

Brainboxes ED-549
100 pages
Print Icon
To Next Page IconTo Next Page
To Next Page IconTo Next Page
To Previous Page IconTo Previous Page
To Previous Page IconTo Previous Page
Loading...
Product Manual V1.3
© Copyright Brainboxes Ltd
Page 22 of 100
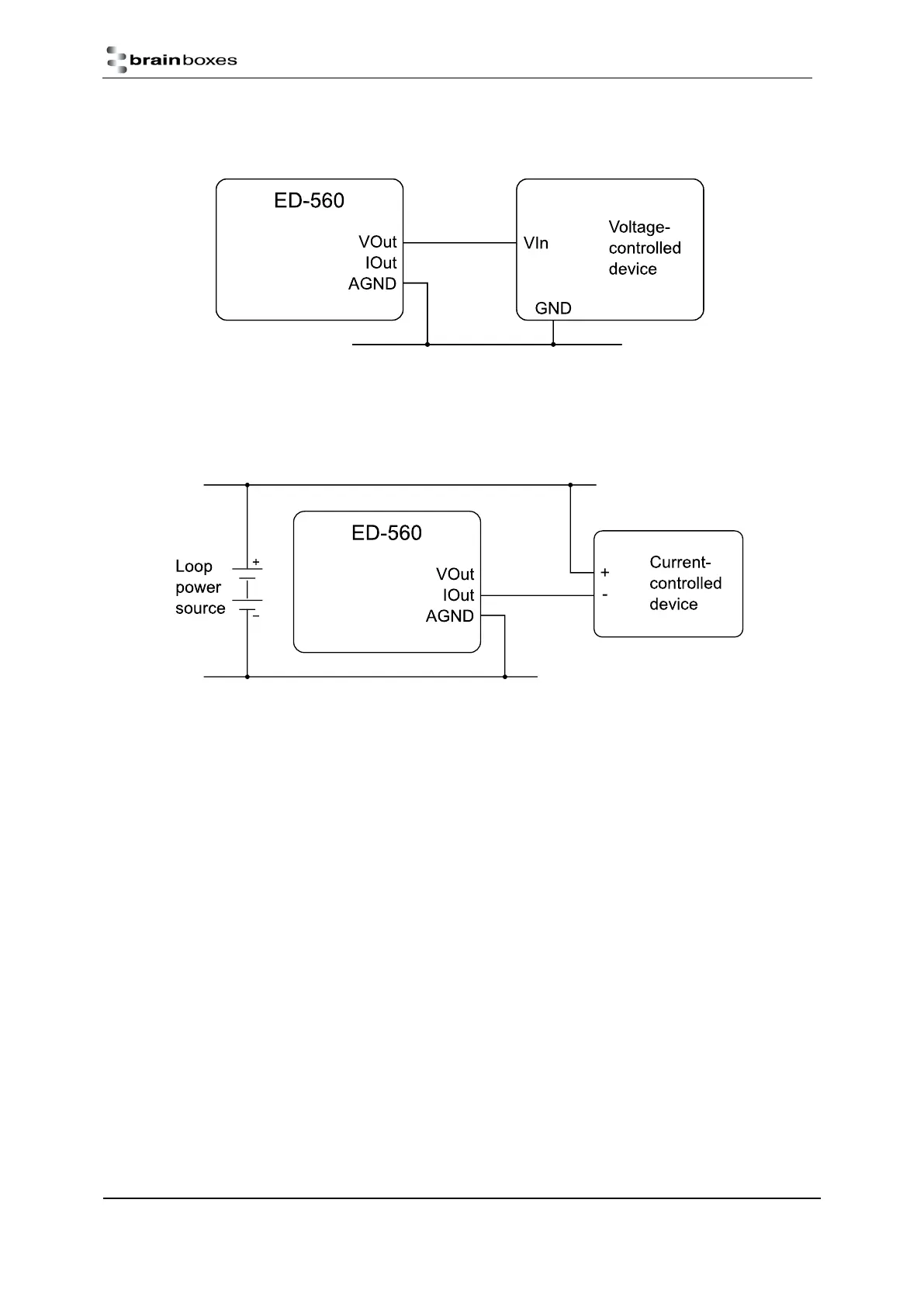
Connecting analogue devices to the ED-560
Single-ended voltage signal
Configure the output channel to the 0-10V range and leave the IOut terminal unconnected.
Current-loop signal
Configure the output channel to the 0-20mA or 4-20mA range and leave the VOut terminal unconnected.

Table of Contents