EasyManua.ls Logo

Canon DADF-AA1 - 2.1 Unpacking and Checking the Components

Canon DADF-AA1
110 pages
Print Icon
To Next Page IconTo Next Page
To Next Page IconTo Next Page
To Previous Page IconTo Previous Page
To Previous Page IconTo Previous Page
Loading...
Chapter 2
2-1
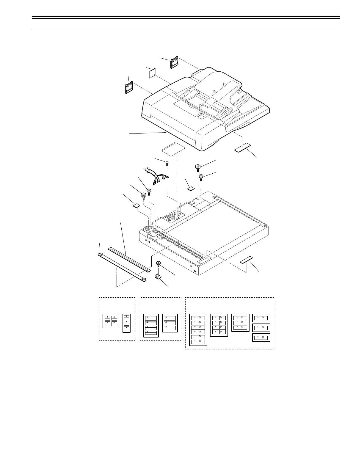
2.1 Unpacking and Checking the Components
2.1.1 Unpacking and Checking the Contents
0024-3811
1) Make sure that none of the following parts is missing.
F-2-1
[12]
[9]
[2]
[2]
[1]
[8]
[7]
[6]
[8]
[7]
[6]
[4]
[5]
[3]
[10]
[11]
[13]
[11]
[B][A]
[12]
[C] [D]
[13]
[E] [F]
[G] [H]

Table of Contents

Related product manuals